Gossen Metrawatt LABKON P500 handleiding
Handleiding
Je bekijkt pagina 5 van 64

LABKON Series
_________________________________________________________________________________________________
GMC-I Messtechnik GmbH 5
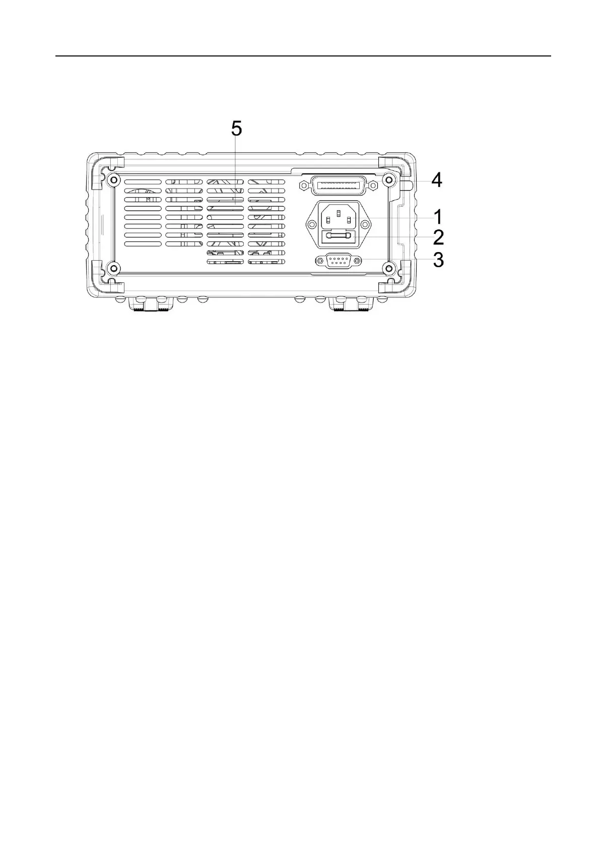
The Rear Panel at a Glance
1. AC inlet 2. Fuse holder
3. RS232 interface connector 4. GPIB interface connector (optional)
5. Fan outlet
An Introduction to this Manual
General Information
Apart from a general description of your power supply, it provides instructions for checking your power supply, selecting
power-line voltage and connecting to AC power.
Initial Operation
It ensures that the power supply develops its rated outputs and responds to operation from the front panel properly.
Front-Panel Operation
It describes the use of front-panel keys and knobs in detail and how to use them to operate the power supply from the front
panel. And it also shows how to configure the power supply for the remote interface and introduces the calibration features in
brief.
Remote Interface Reference
It contains the reference information to help you program the power supply over the remote interface, and explains how to
program for status reporting as well.
Application Programs
It provides some remote interface applications to help you develop programs for your application.
Bekijk gratis de handleiding van Gossen Metrawatt LABKON P500, stel vragen en lees de antwoorden op veelvoorkomende problemen, of gebruik onze assistent om sneller informatie in de handleiding te vinden of uitleg te krijgen over specifieke functies.
Productinformatie
| Merk | Gossen Metrawatt |
| Model | LABKON P500 |
| Categorie | Niet gecategoriseerd |
| Taal | Nederlands |
| Grootte | 6992 MB |







