Handleiding
Je bekijkt pagina 11 van 72

11
721752
INFORMATION ON THE APPLIANCE - DATA
PLATE (DEPENDING ON THE MODEL)
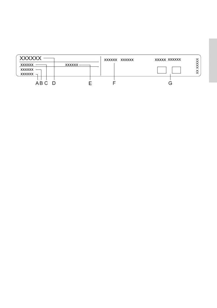
The rating plate indicating the basic
information about the appliance is located
at the edge of the oven and it is visible
when the oven door is opened.
A Serial number
B Code
C Type
D Brand
E Model
F Technical data
G Compliance symbols
Bekijk gratis de handleiding van Gorenje GS879B, stel vragen en lees de antwoorden op veelvoorkomende problemen, of gebruik onze assistent om sneller informatie in de handleiding te vinden of uitleg te krijgen over specifieke functies.
Productinformatie
| Merk | Gorenje |
| Model | GS879B |
| Categorie | Fornuis |
| Taal | Nederlands |
| Grootte | 4930 MB |







