Handleiding
Je bekijkt pagina 13 van 64

13
722095
INFORMATION ON THE APPLIANCE - DATA
PLATE
(DEPENDING ON THE MODEL)
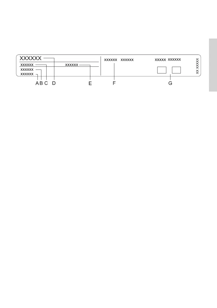
The rating plate indicating the basic
information about the appliance is located
at the edge of the oven and it is visible
when the oven door is opened.
A Serial number
B Code
C Type
D Brand
E Model
F Technical data
G Compliance symbols
722095_en.indd 13722095_en.indd 13 21. 12. 2021 08:13:5321. 12. 2021 08:13:53
Bekijk gratis de handleiding van Gorenje GCM812B, stel vragen en lees de antwoorden op veelvoorkomende problemen, of gebruik onze assistent om sneller informatie in de handleiding te vinden of uitleg te krijgen over specifieke functies.
Productinformatie
| Merk | Gorenje |
| Model | GCM812B |
| Categorie | Fornuis |
| Taal | Nederlands |
| Grootte | 4117 MB |







