Goobay 45283 handleiding
Handleiding
Je bekijkt pagina 3 van 22

Goobay®
by Wentronic GmbH | Pillmanstraße 12
38112 Braunschweig | Germany
REV2020-11-04
V1.0aw
45283
Tower fan
1 Safety instructions
The user manual is part of the product and contains important information for
correct use.
• Read the user manual completely and carefully before use.
The user manual must be available for uncertainties and passing the
product.
• Keep this user manual.
Risk of electric shock
If the fan comes into contact with water, this can lead to electric shock.
• Do not use the product with wet hands.
Rain splashing on the fan can cause an electric shock.
• Do not place the product near an open window.
Risk of entry
Rotating parts can pull in loose clothing, hair, curtains and the like.
• Keep long hair and loose clothing away from the fan.
• Make sure that the fan is not near curtains or objects that can be drawn
into the fan.
This may cause injury or damage to the unit.
Risk of injury from moving parts
There are moving parts behind the protective grille of the fan.
• Only operate the unit with the protective grille closed and intact.
• Do not use the unit if the protective grille is damaged.
• Do not insert ngers or objects through the protective grille.
This may result in injury or damage to the product.
• In case of emergency, during thunderstorms and after use, pull the pro-
duct on its plug housing!
• Do not open the housing.
• Do not modify product and accessories.
• Do not short-circuit connectors and circuits.
A defective device may not be put into operation, but must be disconnected
from mains and protected against further use.
• Use product, product parts and accessories only in perfect condition.
• Avoid stresses such as heat and cold, moisture and direct sunlight, mic-
rowaves, vibrations and mechanical pressure.
• Do not operate the product in the presence of explosive and/or amma-
ble gases.
• Do not place or operate the product near naked ames or heat genera-
ting products such as radiators and ovens.
• In case of questions, defects, mechanical damage, trouble and other
problems, non-recoverable by the documentation, contact your dealer or
producer.
• Do not repair defective products yourself, but contact the dealer or the
manufacturer.
Not suitable for children and persons with physically and/or psychologically li-
mited abilities.
• Secure packaging, small parts and insulation against accidental use.
• Assembly, operation, care, storage, transport, disposal may only be car-
ried out by end users and users with basic knowledge of mechanical
and electrical engineering.
• Do not operate the product in dusty environments and in poorly ventila-
ted areas.
• Do not cover the product.
• Keep fan slots and ventilation slots free.
• NEVER leave the product unattended during operation.
• Disconnect the product from the mains when not in use, when accesso-
ries are attached, for cleaning, or in case of malfunction.
2 Description and function
2.1 Product
The product is an oscillating, quiet column fan with power cable.
○ 3 power levels: light, strong, turbo
○ suitable for rooms up to 15 m²
2.2 Scope of delivery
Fan body, right base, left base, 7 Phillips screws (L 13.5 mm x Ø 4 mm), User
Manual
2.3 Specications
Article number 45283
Input 220-240 V
, 50/60 Hz
Rated power [W] 45
Fan power input (P) [W] 45.0
Standby power consumption
(P
SB
) [W]
0.0
Max. fan ow rate (F) [m³/min] 32.0
Service value (SV) [(m³/min)/W] 0.71
Measurement standard for ser-
vice value
IEC 60879:1986/COR1:1992
Max. air velocity (c) [m/s] 3.1
Fan sound power level (L
WA
)
[dB
A
]
60.0
Protection level / Protection class IPX0 / II
Colour white
Device connection Euro plug (type C, CEE 7/16)
Cable length (incl. plug) [m] 1.6
Dimensions
W x H x D [cm]
Ø [cm]
12 x 77,5 x 14
22
Weight [g] 2450 g
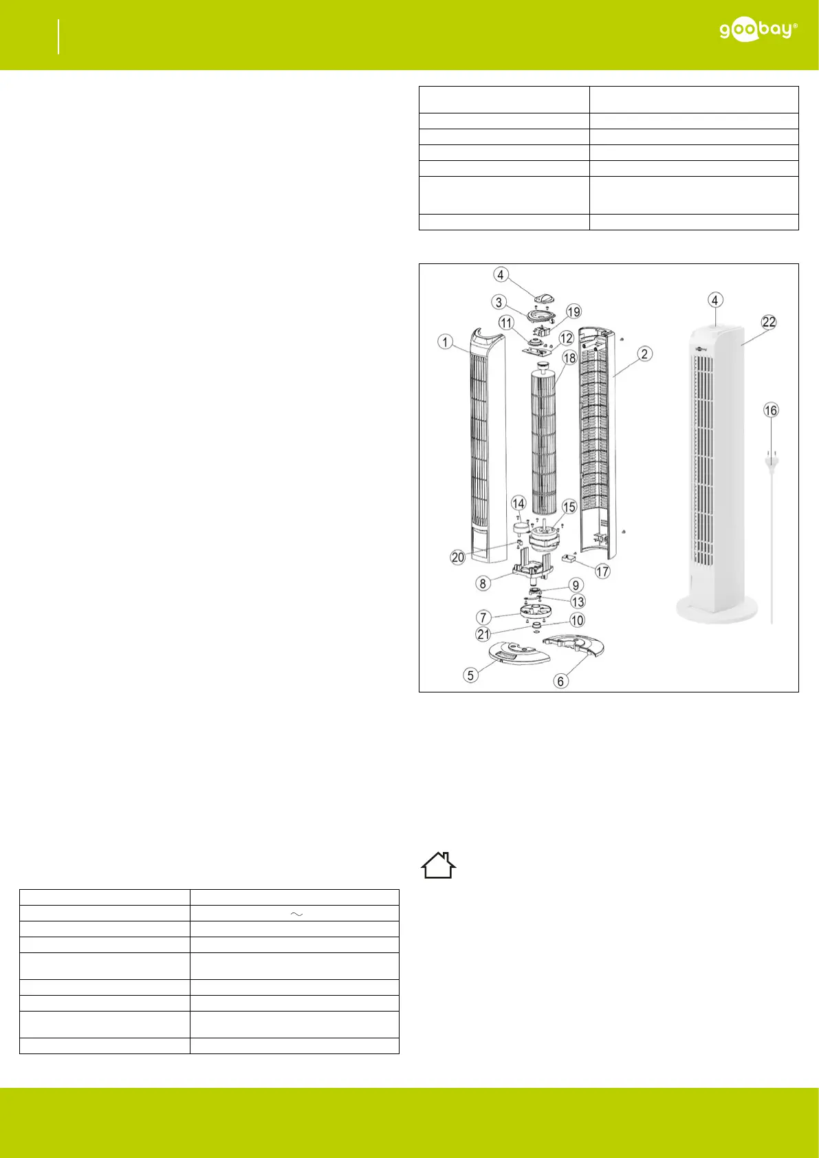
2.4 Operating elements and product parts
1 Front housing
2 Rear housing
3 Upper cover
4 Rotary switch
5 Left base
6 Right base
7 Rotating plate
8 Motor mount
9 Fastening of the connecting rod
10 Fastening ring
11 Bearing cap
12 Propeller holder
13 Connecting rod
14 Synchronous Motor
15 Motor
16 Power cord
17 Capacitor
18 Propeller
19 Switch
20 Eccentric bushing
21 Iron cap
22 Fan body
3 Intended use
We do not permit using the device in other ways like described in
chapter "Description and Function" or in the "Safety Instructions".
Use the product only in dry interior rooms. Not attending to these
regulations and safety instructions might cause fatal accidents, injuries, and
damages to persons and property.
IPX0: This product is not protected against water
4 Preparation
1. Check the scope of delivery for completeness and integrity.
2. Compare the specications of all used devices and ensure compatibility.
5 Assembly
1. Connect the left base (5) to the right base (6) and make sure that the
connection is tight.
2. Place the fan body (22) on the assembled base.
3. Feed the mains cable (16) through the centre of the assembled base.
4. Fix the fan body to the base using the 7 screws.
- 3 -
Subject to change without notice.
User ManualEN
Bekijk gratis de handleiding van Goobay 45283, stel vragen en lees de antwoorden op veelvoorkomende problemen, of gebruik onze assistent om sneller informatie in de handleiding te vinden of uitleg te krijgen over specifieke functies.
Productinformatie
| Merk | Goobay |
| Model | 45283 |
| Categorie | Ventilator |
| Taal | Nederlands |
| Grootte | 7359 MB |
Caratteristiche Prodotto
| Soort bediening | Draaiknop |
| Kleur van het product | Wit |
| Gewicht | 2450 g |
| Breedte | 120 mm |
| Diepte | 140 mm |
