Goobay 45283 handleiding
Handleiding
Je bekijkt pagina 15 van 22

Goobay®
by Wentronic GmbH | Pillmanstraße 12
38112 Braunschweig | Germany
REV2020-11-04
V1.0aw
45283
Pelaräkt
1 Säkerhetsanvisningar
Bruksanvisningen är en del av produkten och innehåller viktiga anvisningar
om korrekt användning.
• Läs igenom bruksanvisningen noggrant och i sin helhet innan du använ-
der produkten.
Bruksanvisningen måste konsulteras om du är osäker på något och medfölja
om produkten byter ägare.
• Spara bruksanvisningen.
Risk för elstötar
Om äkten kommer i kontakt med vatten kan det leda till elektriska stötar.
• Använd inte produkten med våta händer.
Regnstänk på äkten kan orsaka elektrisk stöt.
• Placera inte produkten nära ett öppet fönster.
Indragningsrisk
Roterande delar kan dra in lösa kläder, hår, gardiner och liknande.
• Håll långt hår och lösa kläder borta från äkten.
• Se till att äkten inte är i närheten av gardiner eller föremål som kan
dras in i äkten.
Detta kan orsaka personskada eller skada på enheten.
Risk för personskador på grund av rörliga delar
Det nns rörliga delar bakom äktens skyddande galler.
• Använd endast enheten med skyddsgallret stängt och intakt.
• Använd inte enheten om skyddsgallret är skadat.
• För inte in ngrar eller föremål genom skyddsgallret.
Detta kan leda till skada eller skada på produkten.
• Vid nödfall, efter användning och vid åskväder ska du dra ur kontakten!
• Öppna inte kåpan.
• Produkten och dess tillbehör får inte modieras.
• Kortslut inte anslutningar och kopplingskretsar.
Produkten får inte användas om den är defekt. Koppla i så fall bort den från
nätspänningen omedelbart och säkerställ att den inte kan slås på igen av
misstag.
• Använd bara produkten, produktdelar och tillbehör om de är i felfritt
skick.
• Undvik extrema belastningar som hetta och kyla, fukt och direkt solljus,
mikrovågor samt vibrationer och mekaniskt tryck.
• Använd inte produkten i närvaro av explosiva och / eller brandfarliga
gaser.
• Placera eller använd inte produkten nära öppen eld eller värmegenere-
rande produkter som radiatorer och ugnar.
• Kontakta återförsäljaren eller tillverkaren vid frågor, defekter, mekaniska
skador, störningar eller andra problem som inte kan lösas med hjälp av
de medföljande anvisningarna.
• Reparera inte defekta produkter själv, men kontakta återförsäljaren el-
ler tillverkaren.
Inte avsedd för barn och personer med nedsatt fysisk och/eller mental förmå-
ga.
• Se till att förpackning, smådelar och isoleringsmaterial inte används på
annat sätt än avsett.
• Montering, drift, skötsel, förvaring, transport, bortskaffande får endast ut-
föras av slutanvändare och användare med grundläggande kunskaper
inom mekanik och elektroteknik.
• Använd inte produkten i dammiga miljöer och i dåligt ventilerade utrym-
men.
• Täck inte över produkten.
• Håll äktplatser och ventilationsplatser fria.
• Lämna ALDRIG produkten utan uppsikt under drift.
• Koppla bort produkten från elnätet när den inte används, när tillbehör är
anslutna, för rengöring eller vid funktionsfel.
2 Beskrivning och funktion
2.1 Produkt
Produkten är en oscillerande, tyst kolonnäkt med strömkabel.
○ 3 effektnivåer: lätt, stark, turbo
○ lämplig för rum upp till 15 m²
2.2 Leveransomfång
Fläktkropp, höger bas, vänster bas, 7 stjärnskruvar (L 13,5 mm x Ø 4 mm),
Bruksanvisning
2.3 Tekniska data
Artikelnummer 45283
Ingång 220-240 V
, 50/60 Hz
Nominell effekt [W] 45
Fläktens ineffekt (P) [W] 45,0
Effektförbrukning i standbyläge
(P
SB
) [W]
0,0
Fläktens högsta ödeshastighet
(F) [m³/min]
32,0
Driftsvärde (SV) [(m³/min)/W] 0,71
Standard som använts för mät-
ning av driftsvärde
IEC 60879:1986/COR1:1992
Maximal lufthastighet (c) [m/s] 3,1
Fläktens ljudeffektnivå (L
WA
) [dB
A
] 60,0
Kapslingsklassning / Skyddsklass IPX0 / II
Färg vit
Enhetsanslutning Euro-kontakt (Typ C, CEE 7/16)
Kabellängd (inkl. Kontakt) [m] 1,6
Mått
bxhxd [cm]
Ø [cm]
12 x 77,5 x 14
22
Vikt [g] 2450 g
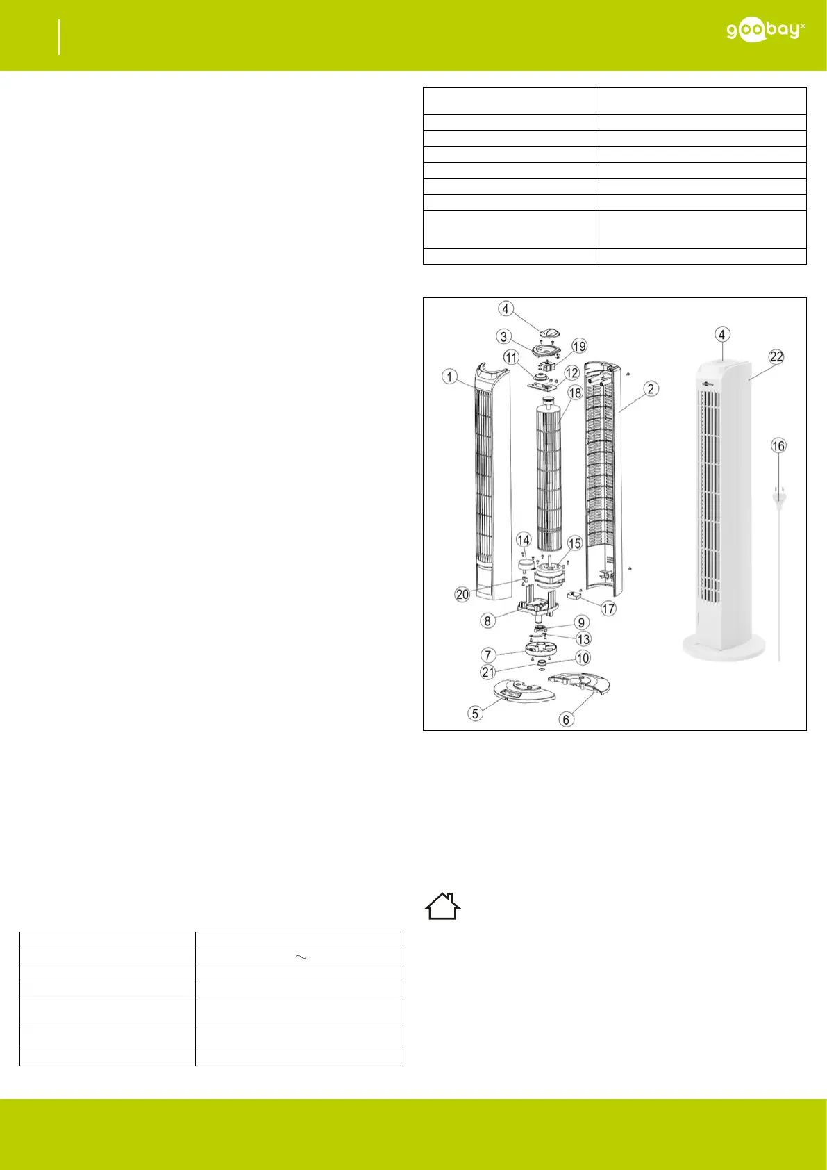
2.4 Kontroller
1 Främre hus
2 Bakre hus
3 Övre lock
4 Vridreglaget
5 Vänster bas
6 Rätt bas
7 Roterande platta
8 Motorfäste
9 Fästning av vevstaken
10 Fästring
11 Lagerlock
12 Propellerhållare
13 Vevstake
14 Synkron motor
15 Motor
16 Strömkabel
17 Kondensator
18 Propeller
19 Växla
20 Excentrisk bussning
21 Järnlock
22 Fläktkropp
3 Avsedd användning
Produkten får inte användas på annat sätt än som beskrivs i kapitlet
”Beskrivning och funktion” eller ”Säkerhetsanvisningar”. Denna
produkt får bara användas i torra inomhusmiljöer. Underlåtenhet att
följa dessa bestämmelser och säkerhetsanvisningarna kan leda till svåra
olyckor och/eller person- och sakskador.
4 Förberedelse
1. Kontrollera att leveransen är fullständig och inte är skadad.
2. Jämför tekniska data för alla produkter som ska användas och säkerställ
att de är kompatibla.
5 Montering
1. Anslut den vänstra basen (5) till den rätta basen (6) och se till att anslut-
ningen är tät.
2. Placera äktkroppen (22) på den monterade basen.
3. Mata strömkabeln (16) genom mitten av den monterade basen.
4. Fäst äktkroppen på basen med de 7 skruvarna.
- 15 -
Med reservation för ändringar.
BruksanvisningSE
Bekijk gratis de handleiding van Goobay 45283, stel vragen en lees de antwoorden op veelvoorkomende problemen, of gebruik onze assistent om sneller informatie in de handleiding te vinden of uitleg te krijgen over specifieke functies.
Productinformatie
| Merk | Goobay |
| Model | 45283 |
| Categorie | Ventilator |
| Taal | Nederlands |
| Grootte | 7359 MB |
Caratteristiche Prodotto
| Soort bediening | Draaiknop |
| Kleur van het product | Wit |
| Gewicht | 2450 g |
| Breedte | 120 mm |
| Diepte | 140 mm |
