Handleiding
Je bekijkt pagina 52 van 116

Soutien au
consommateur
Conseils de dépannage
Fonctionnement
Mesures de sécuritéInstallation
52
Autres caractéristiques.
Toutes les caractéristiques ne sont pas disponibles sur tous les modèles.
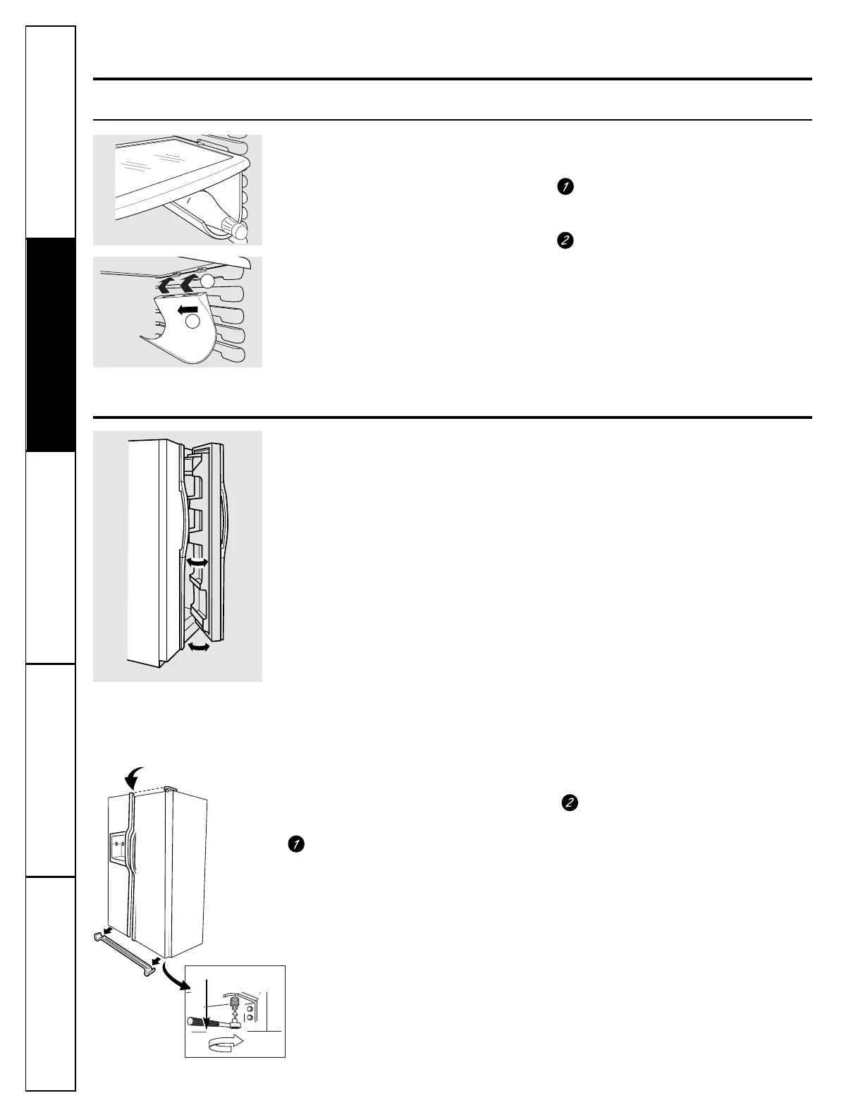
Panier mobile à breuvage
Le panier à breuvage est conçu pour
contenir une bouteille de côté. Vous
pouvez le fixer à n’importe quelle clayette
coulissante.
Installation :
Alignez la partie large des fentes au
sommer du panier aux taquets qui
se trouvent sous la clayette.
Faites coulisser ensuite le panier pour
le fixer en position.
Les portes du réfrigérateur.
Portes du réfrigérateur
Les portes de votre réfrigérateur ne sont
pas tout à fait comme celles dont vous
avez l’habitude. Un système spécial
d’ouverture/fermeture assure que les
portes ferment complètement et
hermétiquement.
Lorsque vous ouvrez et fermez les portes,
vous remarquerez qu’elles sont munies
d’une position
d’arrêt.
Si vous ouvrez la
porte au delà de cette position
d’arrêt,
elle
restera ouverte afin de vous permettre de
ranger et de prendre vos aliments plus
facilement. Lorsque la porte est
partiellement ouverte, elle se ferme
automatiquement.
L’impression de résistance que vous
ressentez à la position
d’arrêt
diminue
lorsque des aliments sont rangés dans
la porte.
Lorsque la porte est partiellement
ouverte, elle se ferme automatiquement.
Au delà de cette position d’arrêt la porte
restera ouverte.
1
2
Alignement des portes
Si les portes ne soient pas alignées, réglez la
porte du compartiment réfrigérateur.
À l’aide d’une clé à douille de 7/16 po,
tournez la vis de réglage de la porte
vers la droite pour relever la porte, ou
vers la gauche pour l’abaisser. (Une
douille de nylon, encastrée dans les
filets de l’axe, empêchera celui-ci de
tourner si l’on ne se sert pas d’une
clé.)
Après avoir tourné la clé une ou deux
fois, ouvrez et fermez la porte du
compartiment réfrigérateur et vérifiez
l’alignement des portes à la partie
supérieure.
Pour enlever la grille
de la base, ouvrez les
portes, enlevez la vis
de chaque extrémité
de la grille, puis tirez
sur la grille.
Clé à douille de 7/16 po
Relevez
Bekijk gratis de handleiding van GE PSC23NHMWW, stel vragen en lees de antwoorden op veelvoorkomende problemen, of gebruik onze assistent om sneller informatie in de handleiding te vinden of uitleg te krijgen over specifieke functies.
Productinformatie
| Merk | GE |
| Model | PSC23NHMWW |
| Categorie | Vriezer |
| Taal | Nederlands |
| Grootte | 17775 MB |