Handleiding
Je bekijkt pagina 64 van 132

Soutien au
consommateur
Conseils de dépannage
Fonctionnement Mesures de sécuritéInstallation
64
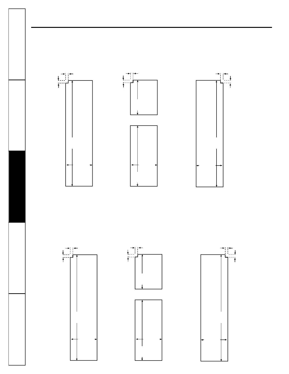
Ensembles de moulures et de panneaux décoratifs.
Panneau du
congélateur sans
distributeur
Panneaux du
congélateur avec
distributeur
Panneau du
compartiment
des aliments frais
Découpez
8 mm
(5/16 po)
36,8 cm
(14
15
⁄32 po)
170,9 cm
(67
9
⁄
32 po)
3 mm (1/8 po)
DEVANT
45,4 cm
(17
7
⁄8
po)
36,8 cm
(14
15
⁄
32 po)
85,4 cm
(33
5
⁄8 po)
DEVANT
170,9 cm
(67
9
⁄
32 po)
49,5 cm
(19
15
⁄
32 po)
DEVANT
23‘ Dimensions pour les panneaux de bois sur mesure
Les parties supérieures des panneaux doivent être découpées dans les panneaux.
25‘ Dimensions
« CustomStyle
™
»
pour les panneaux de bois sur mesure
Les parties supérieures des panneaux doivent être découpées dans les panneaux.
Découpez
3 mm (1/8 po)
Découpez
3 mm (1/8 po)
8 mm
(5/16 po)
8 mm
(5/16 po)
Panneau du
congélateur sans
distributeur
Panneaux du
congélateur avec
distributeur
Panneau du
compartiment
des aliments frais
Découpez
8 mm
(5/16 po)
36,8 cm
(14
15
⁄32 po)
177,3 cm
(69
25
⁄32 po)
3 mm (1/8 po)
DEVANT
45,2 cm
(17
25
⁄32 po)
36,8 cm
(14
15
⁄32 po)
92,0 cm
(36
1
⁄4 po)
DEVANT
177,3 cm
(69
25
⁄32 po)
49,5 cm
(19
15
⁄
32 po)
DEVANT
Découpez
3 mm (1/8 po)
Découpez
3 mm (1/8 po)
8 mm
(5/16 po)
8 mm
(5/16 po)
Bekijk gratis de handleiding van GE Profile Arctica CustomStyle PSC23NGMWW, stel vragen en lees de antwoorden op veelvoorkomende problemen, of gebruik onze assistent om sneller informatie in de handleiding te vinden of uitleg te krijgen over specifieke functies.
Productinformatie
| Merk | GE |
| Model | Profile Arctica CustomStyle PSC23NGMWW |
| Categorie | Koelkast |
| Taal | Nederlands |
| Grootte | 19495 MB |







