Handleiding
Je bekijkt pagina 20 van 132

Consumer Support
Troubleshooting Tips Operating Instructions Safety InstructionsInstallation Instructions
20
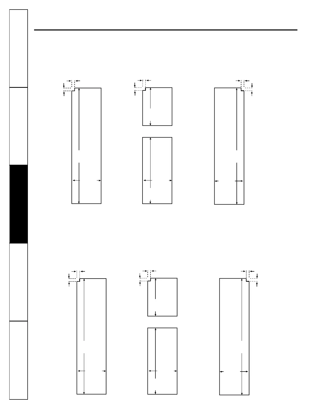
Trim kits and decorator panels.
Freezer Panel
Without Dispenser
Freezer Panel
With Dispenser Fresh Food Panel
Cutout
5/16″
(8 mm)
14
15
⁄32″
(36.8 cm)
67
9
⁄32″
(170.9 cm)
1/8″ (3 mm)
FRONT
17
7
⁄8″
(45.4 cm)
14
15
⁄32″
(36.8 cm)
33
5
⁄8″
(85.4 cm)
FRONT
67
9
⁄32″
(170.9 cm)
19
15
⁄32″
(49.5 cm)
FRONT
23‘ Dimensions for Custom Wood Panels
The areas at the top of the panels need to be cut out of the panels.
25‘
CustomStyle
™
Dimensions for Custom Wood Panels
The areas at the top of the panels need to be cut out of the panels.
Cutout
1/8″ (3 mm)
Cutout
1/8″ (3 mm)
5/16″
(8 mm)
5/16″
(8 mm)
Freezer Panel
Without Dispenser
Freezer Panel
With Dispenser Fresh Food Panel
Cutout
5/16″
(8 mm)
14
15
⁄32″
(36.8 cm)
69
25
⁄32″
(177.3 cm)
1/8″ (3 mm)
FRONT
17
25
⁄32″
(45.2 cm)
14
15
⁄32″
(36.8 cm)
36
1
⁄4″
(92.0 cm)
FRONT
69
25
⁄32″
(177.3 cm)
19
15
⁄32″
(49.5 cm)
FRONT
Cutout
1/8″ (3 mm)
Cutout
1/8″ (3 mm)
5/16″
(8 mm)
5/16″
(8 mm)
Bekijk gratis de handleiding van GE Profile Arctica CustomStyle PSC23NGMWW, stel vragen en lees de antwoorden op veelvoorkomende problemen, of gebruik onze assistent om sneller informatie in de handleiding te vinden of uitleg te krijgen over specifieke functies.
Productinformatie
Merk | GE |
Model | Profile Arctica CustomStyle PSC23NGMWW |
Categorie | Koelkast |
Taal | Nederlands |
Grootte | 19495 MB |