Handleiding
Je bekijkt pagina 6 van 40

6 49-40783-1
900 Watts
Features
Throughout this manual, features and appearance may vary from your model.
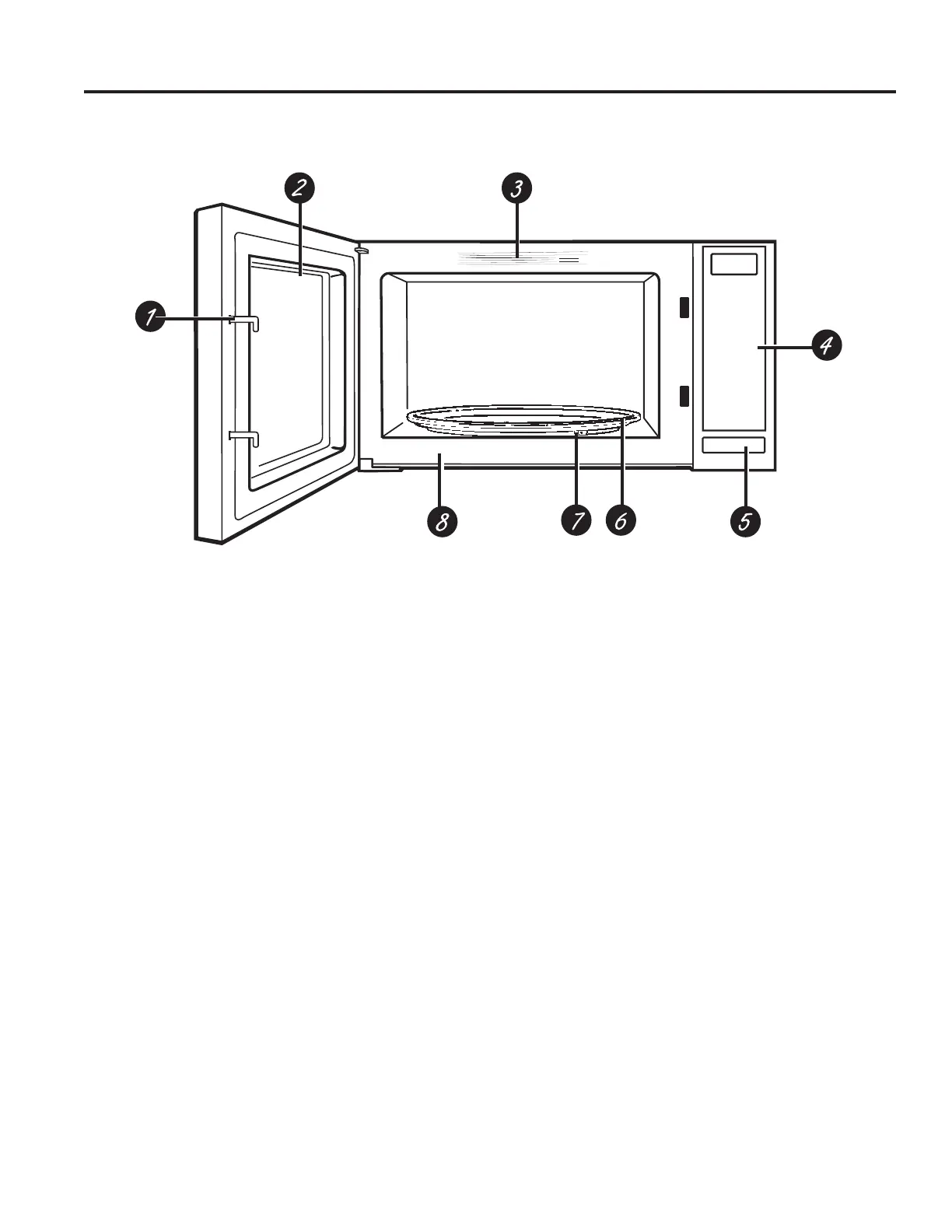
1 Door Latches
2 Window with Metal Shield. Screen allows cooking to
be viewed while keeping microwaves confined
in the oven.
3 Convenience Guide
4 Control Panel Display.
5 Door Latch Release. Press latch release to open
door.
6 Removable Turntable. Turntable and support must
be in place when using the oven. The turntable may
be removed for cleaning.
7 Removable Turntable Support. The turntable
support must be in place when using the oven. The
turntable support may be removed for cleaning.
8 Rating Label. Rating plate is located on the front
of the microwave oven.
USING YOUR OVEN
Bekijk gratis de handleiding van GE JES1095DMWW, stel vragen en lees de antwoorden op veelvoorkomende problemen, of gebruik onze assistent om sneller informatie in de handleiding te vinden of uitleg te krijgen over specifieke functies.
Productinformatie
Merk | GE |
Model | JES1095DMWW |
Categorie | Magnetron |
Taal | Nederlands |
Grootte | 3843 MB |