Handleiding
Je bekijkt pagina 24 van 128

24
Installation Instructions
MOVING THE REFRIGERATOR (CONT.)
REMOVE THE FREEZER DOOR (cont.)
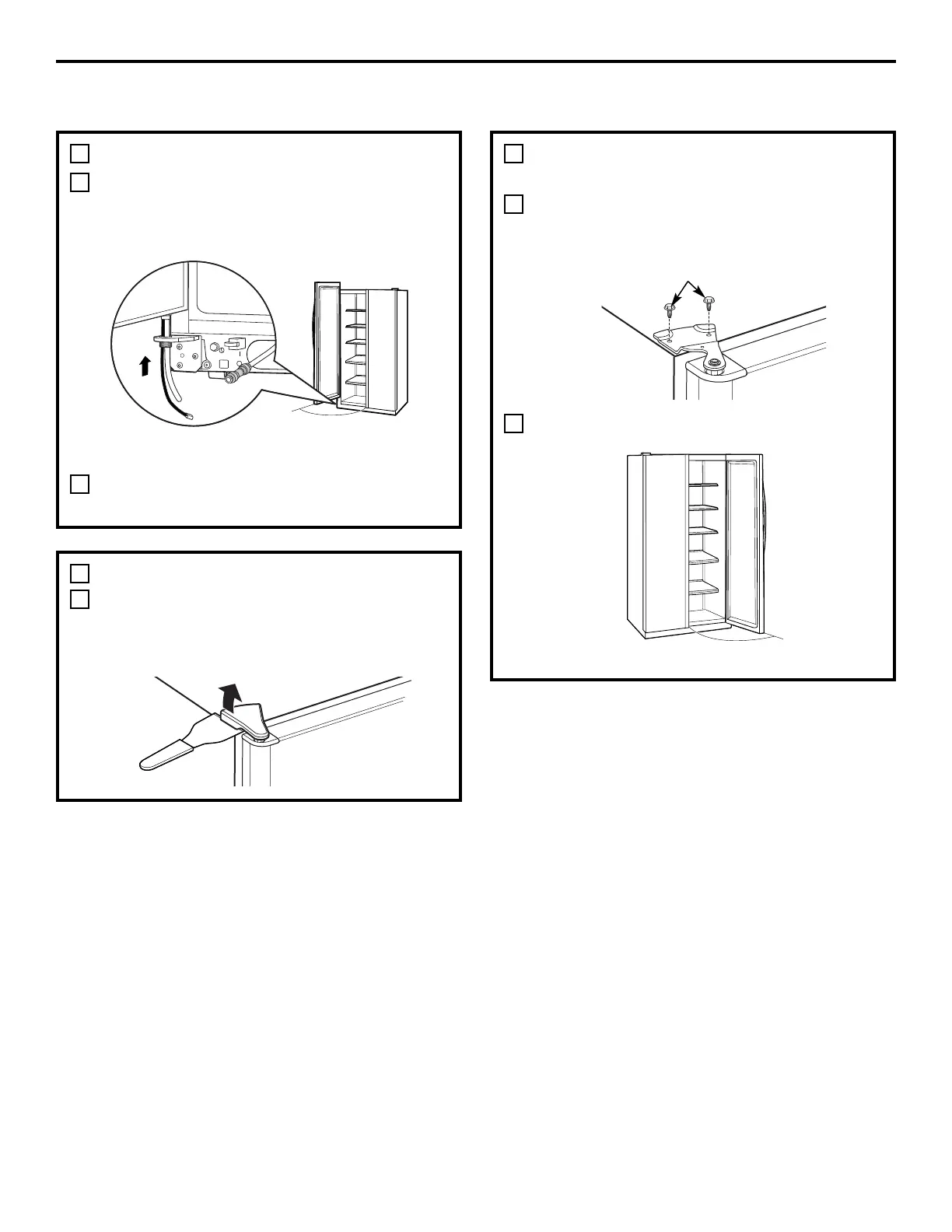
As one person slowly lifts the freezer door up
and off the bottom hinge, the second person
should carefully guide the water line and power
line (harness) through the bottom hinge.
Set the door on a non-scratching surface with
the inside up.
7
D
E
90°
REMOVE THE REFRIGERATOR DOOR
Remove the refrigerator door top hinge
cover (if equipped) by either squeezing it and
pulling it up or by prying it off with a plastic
putty knife.
8
A
REMOVE THE REFRIGERATOR DOOR
(cont.)
Remove the two 5/16″ or 1/8″ hex head
screws, then lift the hinge straight up to free
the hinge pin.
Open the refrigerator door to 90.°
8
B
C
5/16″ or 1/8″ hex head
90°
Bekijk gratis de handleiding van GE GSHF5KGXBB, stel vragen en lees de antwoorden op veelvoorkomende problemen, of gebruik onze assistent om sneller informatie in de handleiding te vinden of uitleg te krijgen over specifieke functies.
Productinformatie
Merk | GE |
Model | GSHF5KGXBB |
Categorie | Koelkast |
Taal | Nederlands |
Grootte | 18069 MB |