Furuno CH-500 handleiding
Handleiding
Je bekijkt pagina 58 van 113

2. HORIZONTAL MODE
2-18
5. Press or to adjust the TVG level. Ideally, a setting between 2.0 and 5.0
should be sufficient. A larger setting reduces the gain over distance.
As the setting is adjusted, the current setting is shown in a dashed line and the
level indication changes to show the new setting.
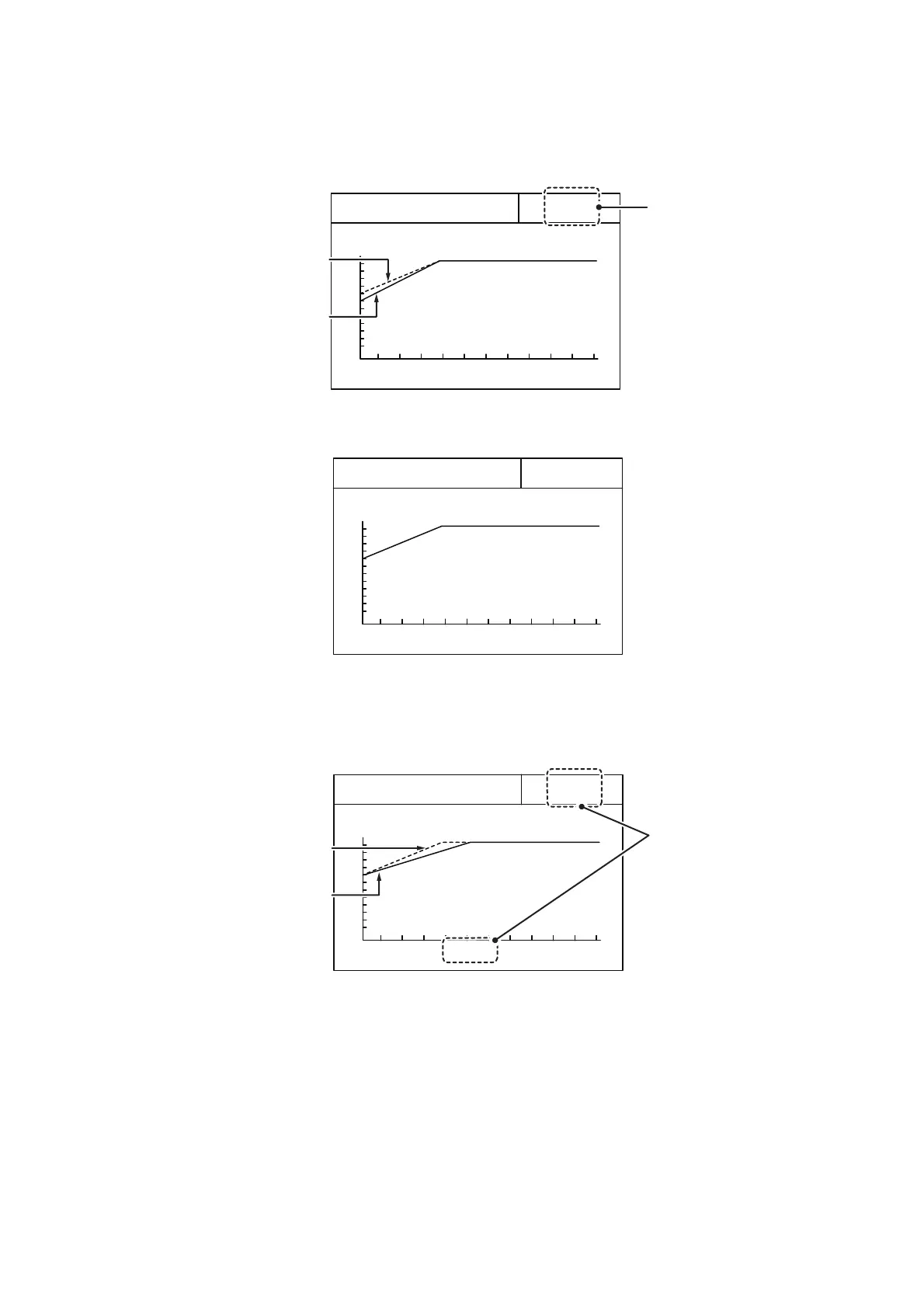
6. Press to select [TVG Distance] ([TVG Distance-LF]/[TVG Distance-HF] on CH-
600), then press to show the [TVG Distance] settings.
7. Press or to adjust the TVG level.
Ideally a setting between 3.0 and 5.0 (130 m to 320 m) is sufficient.
As the setting is adjusted, the current setting is shown in a dashed line and the
level indication changes to show the new setting.
Current setting
New setting
TVG Level
indication
changes to
show the
new setting.
200m
TVG Level
Gain
Hi
Lo
4. 0
200m
TVG Distance
Gain
Hi
Lo
4. 0
Current setting
New setting
Indications for
distance setting
and actual distance
change to show the
new setting.
320m
Gain
Hi
Lo
6. 0TVG Distance
Bekijk gratis de handleiding van Furuno CH-500, stel vragen en lees de antwoorden op veelvoorkomende problemen, of gebruik onze assistent om sneller informatie in de handleiding te vinden of uitleg te krijgen over specifieke functies.
Productinformatie
| Merk | Furuno |
| Model | CH-500 |
| Categorie | Niet gecategoriseerd |
| Taal | Nederlands |
| Grootte | 15432 MB |







