Frilec KOBLENZ7214WA-010 handleiding
Handleiding
Je bekijkt pagina 19 van 161

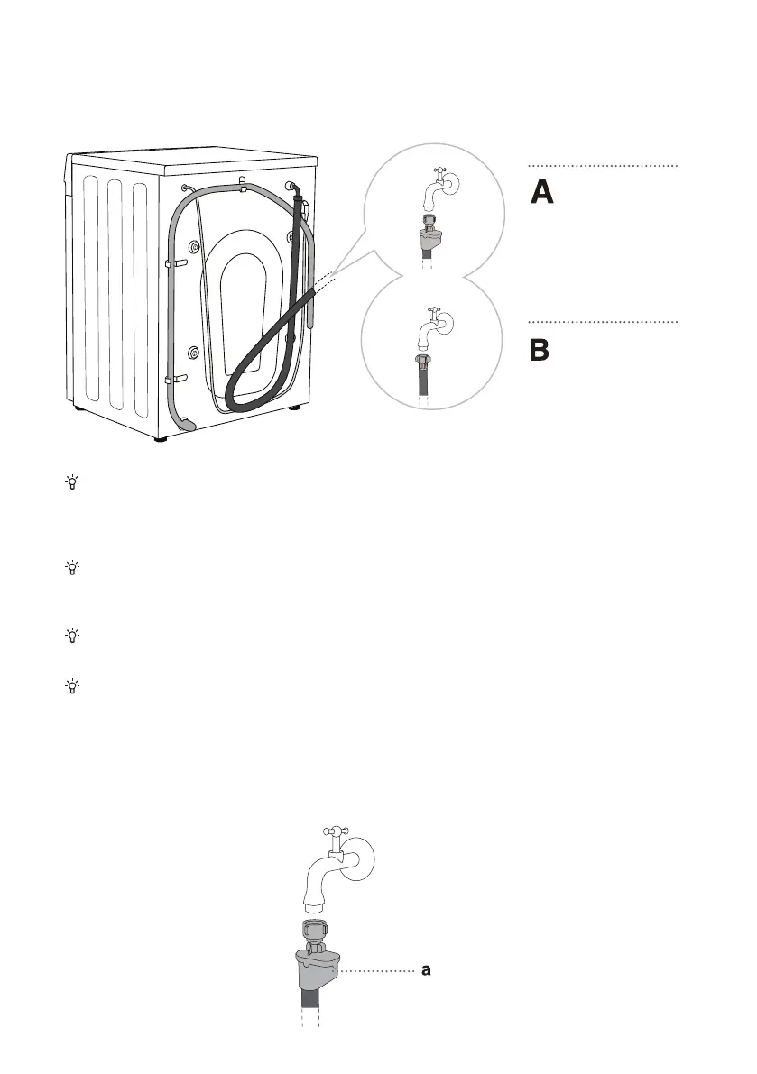
OP DE WATERTOEVOER AANSLUITEN
Bevestig de waterinlaatslang goed op de waterkraan.
Voor een normale werking van de machine, moet de inlaatdruk van het water tussen 0,1-1 MPa
(1-10 bar; 1-10 kp/cm
2
; 10-100 N/cm
2
) zijn. De minimum dynamische waterdruk kan bepaald
worden door het waterdebiet te meten. Er moet in 15 seconden 3 liter water uit een volledig
geopende kraan stromen.
Zet de waterslang met de hand vast voor een goede afdichting (max. 2 Nm) na het aansluiten
van de slang. Controleer de koppeling op lekken. Gebruik geen tang of gelijkaardig gereedschap,
omdat dit de schroefdraad van de moer kan beschadigen.
Gebruik alleen de waterslang die bij de machine geleverd werd. Gebruik geen gebruikte of
andere slangen.
Verzeker dat de slang niet beschadigd is. Als de slang in slechte staat, broos of gescheurd is,
moet deze vervangen worden.
AquaStop
Als er een interne leiding of slang beschadigd is, wordt een uitschakelsysteem geactiveerd om de
watertoevoer naar de machine uit te schakelen. In zulk geval zal het bedieningsvenster (a) rood
worden. Vervang de waterslang.
AquaStop
Normale
aansluiting
(ALLEEN BIJ SOMMIGE MODELLEN)
KOBLENZ7214WA-010 Versie NL 04-2024
Pagina17
Bekijk gratis de handleiding van Frilec KOBLENZ7214WA-010, stel vragen en lees de antwoorden op veelvoorkomende problemen, of gebruik onze assistent om sneller informatie in de handleiding te vinden of uitleg te krijgen over specifieke functies.
Productinformatie
| Merk | Frilec |
| Model | KOBLENZ7214WA-010 |
| Categorie | Niet gecategoriseerd |
| Taal | Nederlands |
| Grootte | 14303 MB |







