Handleiding
Je bekijkt pagina 12 van 51

Voor de 1
e
keer reinigen en opwarmen
Haal alle beschermfolie aan de voorzijde van de stoomoven af.
Te doen voor de eerste ingebruikname van het toestel:
Haal alle accessoires uit de oven en reinig deze.
Leeg altijd de opvangbakken voordat u het toestel gaat gebruiken. Tijdens het
eerste gebruik van uw nieuwe toestel, ruikt u een typische geur.
Dit is normaal.
Voordat u het toestel daadwerkelijk gaat gebruiken om snel voedsel te
bereiden, helpt het tevoren goed verhitten van de lege oven om deze typische
luchtjes te elimineren.
● Voordat u de oven opwarmt, kunt u het beste de binnenkant van de stoomoven afdoen met
een vochtige doek. Op deze manier kunnen de tijdens het productieproces opgehoopte
stof, losse metaalsplinters en/of restanten verpakkingsmateriaal worden verwijderd.
●
● Tik op de om de functie Convectie te selecteren.
De standaard ingestelde (aanbevolen) temperatuur zal worden aangegeven.
● Stel de temperatuur in op maximum temperatuur m.b.v. de insteltoetsen.
● Tik het symbool naast de sensortoetsen aan. Verhit de lege oven tenminste
een uur. Zorg dat de ruimte goed wordt geventileerd en dat de deuren naar andere
aangrenzende (woon)ruimtes zijn gesloten om verspreiding van de typische geur
te voorkomen.
● Laat het apparaat afkoelen tot kamertemperatuur. Los dan een mild
reinigingsmiddel op in heet water om vervolgens hiermee de binnenzijde van de
oven te reinigen. Maak nu weer droog met een schone, zachte doek.
Laat de deur open totdat de oven volledig is gedroogd.
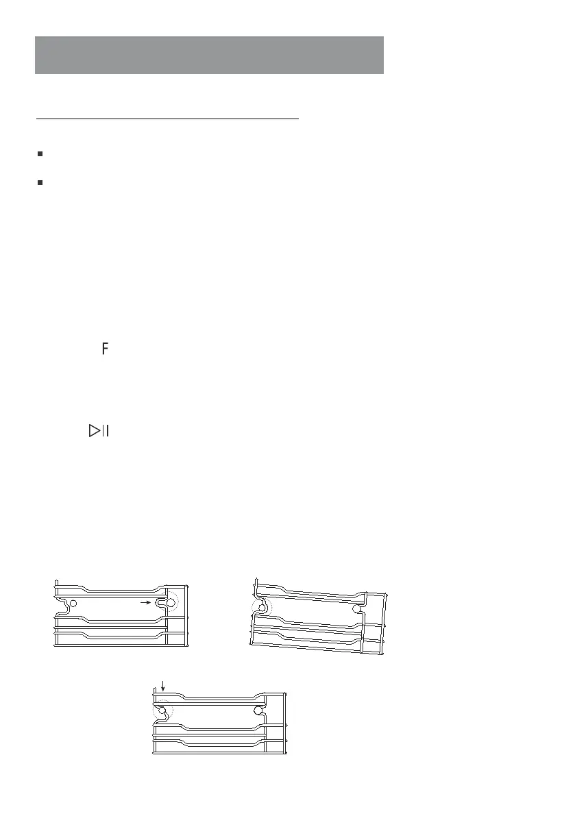
Induwen
Stap 1
Duwen
Stap 2
Stap 3
Inhaken
HAMBURG5035STGBL pagina 11 versie NL 6-2024
Schakel het apparaat aan, u ziet 00:00 op het display.
Plaats de ophangsystemen links en rechts als volgt:
Bekijk gratis de handleiding van Frilec HAMBURG5035STGBL, stel vragen en lees de antwoorden op veelvoorkomende problemen, of gebruik onze assistent om sneller informatie in de handleiding te vinden of uitleg te krijgen over specifieke functies.
Productinformatie
Merk | Frilec |
Model | HAMBURG5035STGBL |
Categorie | Oven |
Taal | Nederlands |
Grootte | 6066 MB |