Handleiding
Je bekijkt pagina 72 van 100

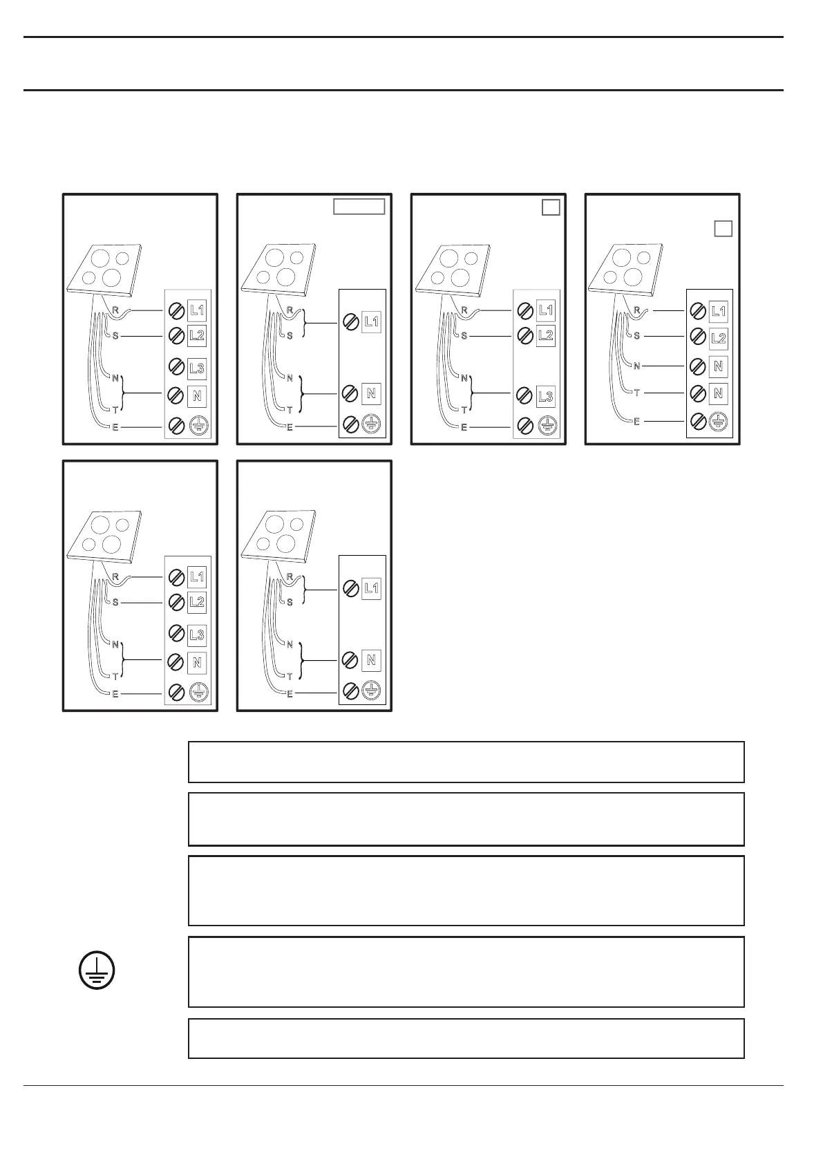
PODŁĄCZENIE ELEKTRYCZNE
Przed podłączeniem płyty do źródła zasilania należy wykonać podłączenie elektryczne.
Instalacja musi być przeprowadzona przez wykwalikowanego pracownika znającego aktualne przepisy dotyczące bezpieczeństwa i instalacji. W
szczególności, instalacja musi być przeprowadzona zgodnie z przepisami obowiązującymi u lokalnego dostawcy prądu.
Upewnić się, że napięcie podane na tabliczce znamionowej znajdującej się w dolnej części urządzenia jest zgodne z napięciem w instalacji domowej.
Obowiązujące przepisy wymagają, by urządzenie było uziemione: należy użyć jedynie przewodów (w tym przewodu uziemiającego) o odpowiednim
rozmiarze.
blue-blu-azul-azul-μπλε-sinine-zila-mėlyna-niebieski-blau-bleu-blauw-albastru-синьо-плава-modro-
plava-синий-синій-көк-modrý-modrý-kék-blå-sininen-blå-blåt-mavi-gorm- blár
N
blue (gray)-blu (grigio)-azul (gris)-azul (cinza)-μπλε (γκρι)-sinine (hall)-zila (pelēka)-mėlyna (pilkas)-
niebieski (szary)-blau (grau)-bleu (gris)-blauw (grijs)-albastru (gri)-синьо (сиво)-плава (сива)-
modro (sivo)-plava (siva)-синий (серый)-синій (сірий)-көк (сұр)-modrý (šedá)-modrý (sivá)-
kék (szürke)-blå (grå)-sininen (harmaa)-blå (grå)-blåt (gråt)-mavi (gri)-gorm (liath)- blár (grár)
T
yellow/green-giallo/verde-amarillo/verde-amarelo/verdeκίτρινο/πράσινο-kollane/roheline-dzeltens/zaļš-
geltona/žalia-żółty/zielony-gelb/grün-jaune/vert-geel/groen-galben/verde-жълто/зелено-жуто/зелена-
rumeno/zeleno-žuto/zelena-желтый/зеленый-жовтий/зелений-жасыл/сары-žlutá/zelená-žltá/zelená-
sárga/zöld-gul/grønn-keltainen/vihreä-gul/grön-gul/grøn-sarı/yeşil-buí/glas- gulur/grænn
E
=
black-nero-negro-preto-μαύροσ-must-melns-juodas-czarny-schwarz-noir-zwart-negru-черно-црн-
črna-crno-черный-чорний-қара-černá-čierna-fekete-svart-musta-svart-sort-siyah-dubh-svartur
brown-marrone-marrón-marrom-καφέ-pruun-brūns-rudas-brązowy-braunen-brun-bruin-maro-кaфяв-
браон-rjava-smeđ-коричневый-коричневий-қоңыр-hnědý-hnedý-barna-brunt-ruskea-brunt-brun-
kahverengi-donn-brúnn
R
S
220-240 V
~
220-240 V 3
~
230V 2 Phase 2N
~
380-415 V 2 N ~
220-240 V
~
380-415 V 3 N ~
AU-UK-IRL
BE
NL
– 72 –
Bekijk gratis de handleiding van Franke FSM 804 I B, stel vragen en lees de antwoorden op veelvoorkomende problemen, of gebruik onze assistent om sneller informatie in de handleiding te vinden of uitleg te krijgen over specifieke functies.
Productinformatie
| Merk | Franke |
| Model | FSM 804 I B |
| Categorie | Fornuis |
| Taal | Nederlands |
| Grootte | 14428 MB |







