Handleiding
Je bekijkt pagina 190 van 200

utylizacji. Szczegółowe informacje na
temat recyklingu tego produktu można
uzyskać w urzędach miasta/gminy, lo-
kalnych instytucjach zajmujących się li-
kwidacją odpadów lub w sklepie, w któ-
rym produkt został zakupiony.
Urządzenie spełnia wymogi Dyrektywy
2012/19/UE dotyczącej redukcji sub-
stancji niebezpiecznych stosowanych w
urządzeniach elektrycznych i elektro-
nicznych oraz usuwania odpadów.
Usuwanie materiałów opakowanio-
wych
Materiały z symbolem nadają się do
ponownego przetworzenia. Materiały
opakowaniowe należy wyrzucić do po-
jemników na odpady przeznaczone do
recyklingu.
Energooszczędność
Stosowanie się do poniższych porad
umożliwia oszczędzanie energii w trak-
cie codziennego gotowania.
• Należy podgrzewać tylko tyle wody,
ile jest potrzebne.
• Jeśli to możliwe, należy zawsze przy-
krywać naczynia pokrywką.
• Przed włączeniem strefy grzewczej,
należy postawić na niej naczynie do
gotowania.
• Mniejsze naczynia należy stawiać na
mniejszych strefach grzewczych.
• Naczynia należy stawiać bezpośred-
nio na środku strefy grzewczej.
• Pozostałe ciepło można wykorzystać
do podtrzymywania ciepła potraw lub
roztapiania.
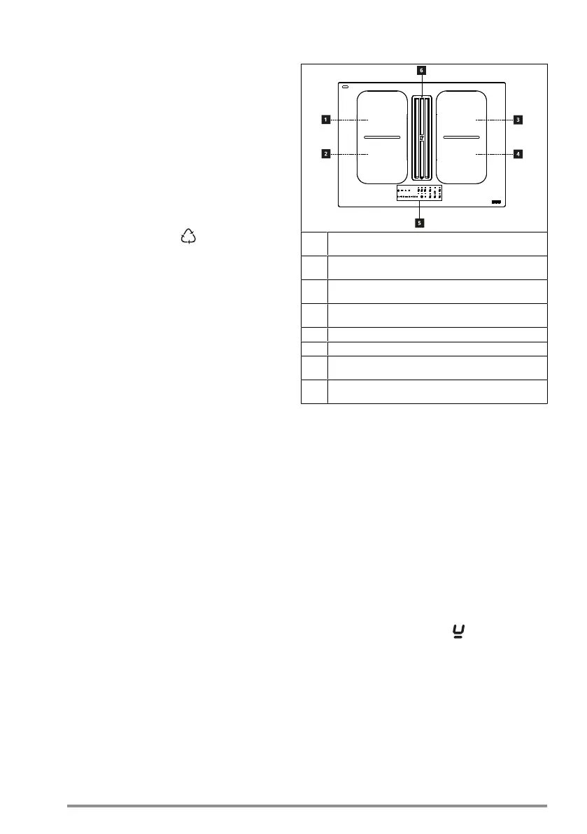
7. OPIS PRODUKTU
1
Pojedyncza strefa grzewcza (210x190 mm) 2100 W,
z funkcją podwyższonej mocy 3000 W
2
Pojedyncza strefa grzewcza (210x190 mm) 2100 W,
z funkcją podwyższonej mocy 3000 W
3
Pojedyncza strefa grzewcza (210x190 mm) 2100 W,
z funkcją podwyższonej mocy 3000 W
4
Pojedyncza strefa grzewcza (210x190 mm) 2100 W,
z funkcją podwyższonej mocy 3000 W
5
Panel sterowania
6
Siatka zasysania
1 + 2
Kombinowana strefa grzewcza (210 x 380 mm) 3000
W, z funkcją podwyższonej mocy 3700 W.
3 + 4
Kombinowana strefa grzewcza (210 x 380 mm) 3000
W, z funkcją podwyższonej mocy 3700 W.
WSKAŹNIKI
Wykrywanie obecności naczynia do
gotowania
Każdą strefę grzewczą wyposażono w
system wykrywania obecności naczynia
do gotowania na płycie kuchennej.
System wykrywania jest w stanie rozpo-
znać naczynia do gotowania z dnem
magnetycznym, odpowiednie do stoso-
wania na płytach indukcyjnych.
Jeśli naczynie do gotowania zostanie
zdjęte w trakcie pracy lub użyje się nie-
odpowiedniego naczynia, na wyświetla-
czu wyświetli się symbol .
Wskaźnik ciepła resztkowego
Wskaźnik ciepła resztkowego to funkcja
bezpieczeństwa informująca o tym, że
powierzchnia strefy grzewczej ma tem-
peraturę równą lub przekraczającą
50°C i może prowadzić do poparzeń w
przypadku jej dotknięcia gołymi rękoma.
190
Bekijk gratis de handleiding van Franke FSM 7081 HI, stel vragen en lees de antwoorden op veelvoorkomende problemen, of gebruik onze assistent om sneller informatie in de handleiding te vinden of uitleg te krijgen over specifieke functies.
Productinformatie
| Merk | Franke |
| Model | FSM 7081 HI |
| Categorie | Fornuis |
| Taal | Nederlands |
| Grootte | 23919 MB |







