Handleiding
Je bekijkt pagina 175 van 200

Bortskaffande av förpacknings-
materialet
Materialen som bär symbolen kan
återvinnas. Bortskaffa förpackningsma-
terialen i särskilda behållare för upp-
samling till återvinning.
Energibesparing
Du kan spara energi varje dag under till-
lagningen genom att följa råden nedan.
• Använd endast nödvändig mängd vid
uppvärmning av vattnet.
• Om möjligt, täck alltid kastrullerna
med locket.
• Placera kastrullen innan du aktiverar
kokzonen.
• Placera de mindre kastrullerna på de
mindre kokzonerna.
• Placera kastrullerna direkt i mitten av
kokzonen.
• Använd restvärmen för att hålla livs-
medlen varma eller för att smälta
dem.
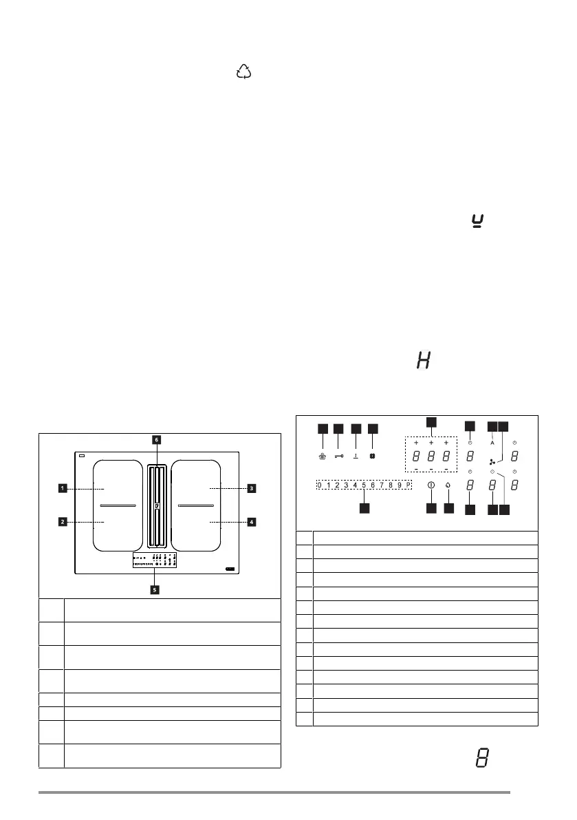
7. BESKRIVNING AV
PRODUKTEN
1
Enkel kokzon (210x190 mm) 2 100 W, med booster-
funktion på 3 000 W
2
Enkel kokzon (210x190 mm) 2 100 W, med booster-
funktion på 3 000 W
3
Enkel kokzon (210x190 mm) 2 100 W, med booster-
funktion på 3 000 W
4
Enkel kokzon (210x190 mm) 2 100 W, med booster-
funktion på 3 000 W
5
Manöverpanel
6
Fläktgaller
1 + 2
Kombinerbar kokzon (210 x 380 mm) 3 000 W, med
boosterfunktion på 3 700 W
3 + 4
Kombinerbar kokzon (210 x 380 mm) 3 000 W, med
boosterfunktion på 3 700 W
INDIKATIONSLAMPOR
Kastrullavkänning
Varje kokzon är utrustad med ett system
som avläser närvaron av en kastrull på
spishällen.
Detekteringssystemet kan känna igen
kastruller med en magnetiserbar botten
av den typ som är lämplig för använd-
ning på induktionshällar.
Om kokkärlet tas bort under användning
eller om ett olämpligt kokkärl används,
visas symbolen på displayen .
Restvärmeindikator
Restvärmeindikatorn är en säkerhets-
funktion för att indikera att kokzonsytan
fortfarande har en temperatur som är li-
ka med eller högre än 50 °C och därför
kan orsaka brännskador vid kontakt
med bara händer. Siffran för motsvaran-
de kokzon indikerar .
8. KONTROLLPANELEN
1
10 9
8
3 4 5
13
1112
7
A
2
6
1
Påslagen/Avstängd
2
Indikator för mättat fettfilter
3
Indikator för kokzonens effektnivå
4
Indikator för fläktens effektnivå
5
Kontroll av fläktens timer
6
Symbol fläktens kontrollzon
7
Kontroll av kokzonens timer
8
Timerns hanteringszon
9
Indikator för mättnad av aktivt kolfilter
10
Knapp för Smältfunktion
11
Knapp för Låsfunktion
12
Knapp för Paus-funktion
13
Rullknappar
A
Knapp för Auto-funktionen
Kokzonerna kan aktiveras genom att
trycka in den relativa siffran . Siffran
175
Bekijk gratis de handleiding van Franke FSM 7081 HI, stel vragen en lees de antwoorden op veelvoorkomende problemen, of gebruik onze assistent om sneller informatie in de handleiding te vinden of uitleg te krijgen over specifieke functies.
Productinformatie
| Merk | Franke |
| Model | FSM 7081 HI |
| Categorie | Fornuis |
| Taal | Nederlands |
| Grootte | 23919 MB |







