Handleiding
Je bekijkt pagina 161 van 200

tega izdelka se obrnite na lokalne orga-
ne, lokalno službo za odstranjevanje od-
padkov ali trgovino, kjer ste kupili izde-
lek.
Naprava je skladna z direktivo 2012/19/
EU glede omejitve nevarnih snovi, ki so
uporabljene v električni in elektronski
opremi, in odstranjevanja odpadkov.
Odstranjevanje embalaže
Materiale s simbolom je mogoče reci-
klirati. Embalažne materiale odstranite v
ustrezne zbirne kontejnerje za reci-
klažo.
Varčevanje z energijo
Med kuhanjem lahko dnevno prihranite
energijo z upoštevanjem spodnjih pripo-
ročil.
• Kadar segrevate vodo, uporabite sa-
mo potrebno količino vode.
• Po možnosti lonce vedno pokrijte s
pokrovko.
• Preden vklopite kuhalno mesto, nanj
postavite lonec.
• Na manjša kuhalna mesta postavite
manjše lonce.
• Lonce postavite neposredno na sre-
dino kuhalnega mesta.
• Uporabite odpadno toploto, da ohra-
nite živila topla ali da jih stopite.
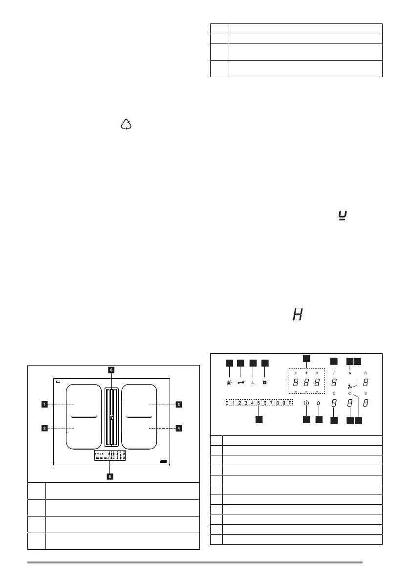
7. OPIS IZDELKA
1
Posamezno kuhalno mesto (210x190 mm) 2100 W s
ojačevalno funkcijo 3000 W
2
Posamezno kuhalno mesto (210x190 mm) 2100 W s
ojačevalno funkcijo 3000 W
3
Posamezno kuhalno mesto (210x190 mm) 2100 W s
ojačevalno funkcijo 3000 W
4
Posamezno kuhalno mesto (210x190 mm) 2100 W s
ojačevalno funkcijo 3000 W
5
Nadzorna plošča
6
Sesalna rešetka
1 + 2
Kuhališče, ki ga je mogoče kombinirati (210 x 380
mm) 3000W, s ojačevalno funkcijo 3700W.
3 + 4
Kuhališče, ki ga je mogoče kombinirati (210 x 380
mm) 3000W, s ojačevalno funkcijo 3700W.
KONTROLNE LUČKE
Zaznavanje prisotnosti lonca
Vsako kuhalno mesto je opremljeno s
sistemom, ki zaznava prisotnost lonca
na kuhalni plošči.
Sistem za zaznavanje lahko zazna lon-
ce ustreznega tipa z magnetnim dnom
za uporabo na indukcijskih kuhalnih
ploščah.
Če lonec med delovanjem odstranite ali
če uporabite neustrezen lonec, se na
prikazovalniku prikaže simbol .
Kontrolna lučka odpadne toplote
Kontrolna lučka preostale toplote je var-
nostna funkcija, ki opozarja na to, da je
temperatura kuhalnega mesta še vedno
50 °C ali več in da lahko kuhalno mesto
povzroči opekline, če se ga dotaknete z
golimi dlanmi. Na indikatorju ustreznega
kuhališča se izpiše .
8. NADZORNA PLOŠČA
1
10 9
8
3 4 5
13
1112
7
A
2
6
1
Vklopljeno/Izklopljeno
2
Indikator nasičenosti filtra za maščobo
3
Indikator moči kuhališča
4
Kazalnik stopnje moči sesalnika
5
Nadzor časovnika aspiratorja
6
Simbol območja za nadzor sesalnika
7
Nadzor časovnika kuhališča
8
Območje upravljanja s časovnikom
9
Kazalnik nasičenosti filtra z aktivnim ogljem
10
Tipka funkcije topitev
11
Tipka funkcije blokada
161
Bekijk gratis de handleiding van Franke FSM 7081 HI, stel vragen en lees de antwoorden op veelvoorkomende problemen, of gebruik onze assistent om sneller informatie in de handleiding te vinden of uitleg te krijgen over specifieke functies.
Productinformatie
| Merk | Franke |
| Model | FSM 7081 HI |
| Categorie | Fornuis |
| Taal | Nederlands |
| Grootte | 23919 MB |







