Handleiding
Je bekijkt pagina 40 van 104

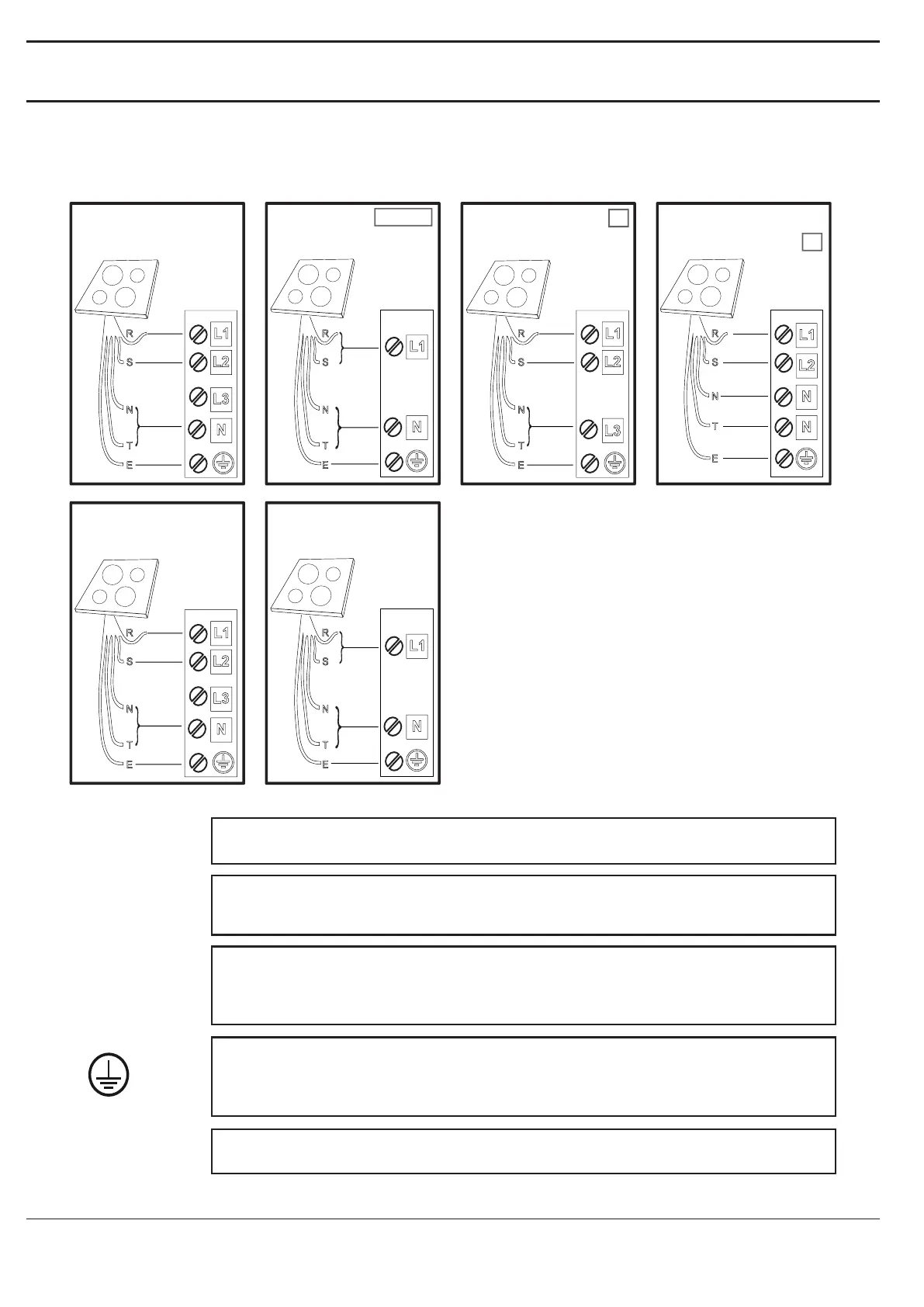
COLLEGAMENTO ELETTRICO
Il collegamento elettrico deve essere eseguito prima di collegare l’apparecchio alla rete.
L’installazione deve essere eseguita da personale qualicato a conoscenza delle norme vigenti in materia di sicurezza e installazione. Nella fattispecie,
l’installazione deve essere eseguita in ottemperanza alle direttive della locale società di fornitura elettrica
Controllare che la tensione indicata sulla targhetta matricola nella parte inferiore dell’apparecchio sia la stessa della rete elettrica domestica.
La messa a terra dell’apparecchio è obbligatoria per legge; utilizzare solo conduttori delle dimensioni appropriate (incluso il conduttore di terra).
blue-blu-azul-azul-μπλε-sinine-zila-mėlyna-niebieski-blau-bleu-blauw-albastru-синьо-плава-modro-
plava-синий-синій-көк-modrý-modrý-kék-blå-sininen-blå-blåt-mavi-gorm- blár
N
blue (gray)-blu (grigio)-azul (gris)-azul (cinza)-μπλε (γκρι)-sinine (hall)-zila (pelēka)-mėlyna (pilkas)-
niebieski (szary)-blau (grau)-bleu (gris)-blauw (grijs)-albastru (gri)-синьо (сиво)-плава (сива)-
modro (sivo)-plava (siva)-синий (серый)-синій (сірий)-көк (сұр)-modrý (šedá)-modrý (sivá)-
kék (szürke)-blå (grå)-sininen (harmaa)-blå (grå)-blåt (gråt)-mavi (gri)-gorm (liath)- blár (grár)
T
yellow/green-giallo/verde-amarillo/verde-amarelo/verdeκίτρινο/πράσινο-kollane/roheline-dzeltens/zaļš-
geltona/žalia-żółty/zielony-gelb/grün-jaune/vert-geel/groen-galben/verde-жълто/зелено-жуто/зелена-
rumeno/zeleno-žuto/zelena-желтый/зеленый-жовтий/зелений-жасыл/сары-žlutá/zelená-žltá/zelená-
sárga/zöld-gul/grønn-keltainen/vihreä-gul/grön-gul/grøn-sarı/yeşil-buí/glas- gulur/grænn
E
=
black-nero-negro-preto-μαύροσ-must-melns-juodas-czarny-schwarz-noir-zwart-negru-черно-црн-
črna-crno-черный-чорний-қара-černá-čierna-fekete-svart-musta-svart-sort-siyah-dubh-svartur
brown-marrone-marrón-marrom-καφέ-pruun-brūns-rudas-brązowy-braunen-brun-bruin-maro-кaфяв-
браон-rjava-smeđ-коричневый-коричневий-қоңыр-hnědý-hnedý-barna-brunt-ruskea-brunt-brun-
kahverengi-donn-brúnn
R
S
220-240 V
~
220-240 V 3
~
230V 2 Phase 2N
~
380-415 V 2 N ~
220-240 V
~
380-415 V 3 N ~
AU-UK-IRL
BE
NL
– 40 –
Bekijk gratis de handleiding van Franke FSM 653 I D BK, stel vragen en lees de antwoorden op veelvoorkomende problemen, of gebruik onze assistent om sneller informatie in de handleiding te vinden of uitleg te krijgen over specifieke functies.
Productinformatie
| Merk | Franke |
| Model | FSM 653 I D BK |
| Categorie | Fornuis |
| Taal | Nederlands |
| Grootte | 14584 MB |







