Franke ALLIANCE 604-10 handleiding
Handleiding
Je bekijkt pagina 6 van 40

INJUSTERING AV LUFTFLÖDEN
ÄNDRING AV LUFTMÄNGD VIA
OMPROGRAMMERING
Luftmängden på den högsta hastighen kan
minskas genom omprogrammering via
strömbrytaren. (Kontakta kundtjänst.)
SPJÄLLINSTÄLLNING
Justering av luftflöden görs med hjälp av
spjället. Spjället blir åtkomligt för justering-
en genom att ta bort filter och motorenhet.
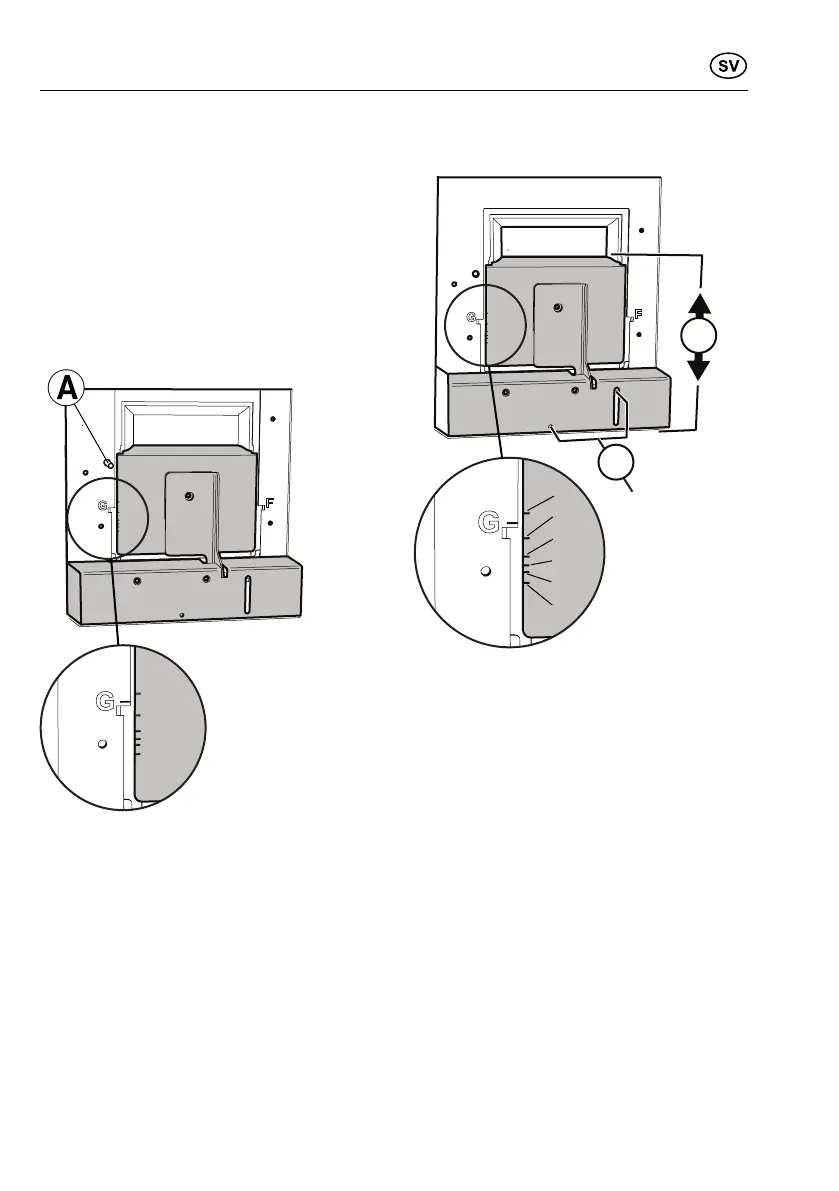
Fig.6
Mätuttag
Mättrycket Pm mäts i mätuttaget, Fig.6A.
Med hjälp av mättrycket Pm och spjällets
position kan luftmängden avläsas i injuster-
ingsdiagram, där G1-G6 är grundventilation.
Om luftmängden måste förändras, läs av en
ny spjällinställning från diagram och justera
därefter spjällets position enligt nedanstå-
ende beskrivning.
Injustering av grundventilation
E
F
6
5
4
3
2
1
Fig.7
Justera grundventilationen med stängd
spjällucka. Lossa skruvarna, Fig.7E.
För spjälluckan, Fig.7F, i önskat läge.
Obs!
Hantera spjället försiktigt.
Markeringarna för spjälluckans läge, G1 -
G6, motsvarar värdena i diagrammet Grund-
ventilation, se Fig.14, sidan 38.
Lås fast spjälluckan med skruvarna, Fig.7E.
Mät trycket Pm och kontrollera att önskat
grundflöde erhålls.
6
991.0357.839/D000000006696/180165/2021-09-24
Bekijk gratis de handleiding van Franke ALLIANCE 604-10, stel vragen en lees de antwoorden op veelvoorkomende problemen, of gebruik onze assistent om sneller informatie in de handleiding te vinden of uitleg te krijgen over specifieke functies.
Productinformatie
| Merk | Franke |
| Model | ALLIANCE 604-10 |
| Categorie | Niet gecategoriseerd |
| Taal | Nederlands |
| Grootte | 4102 MB |







