Handleiding
Je bekijkt pagina 35 van 44

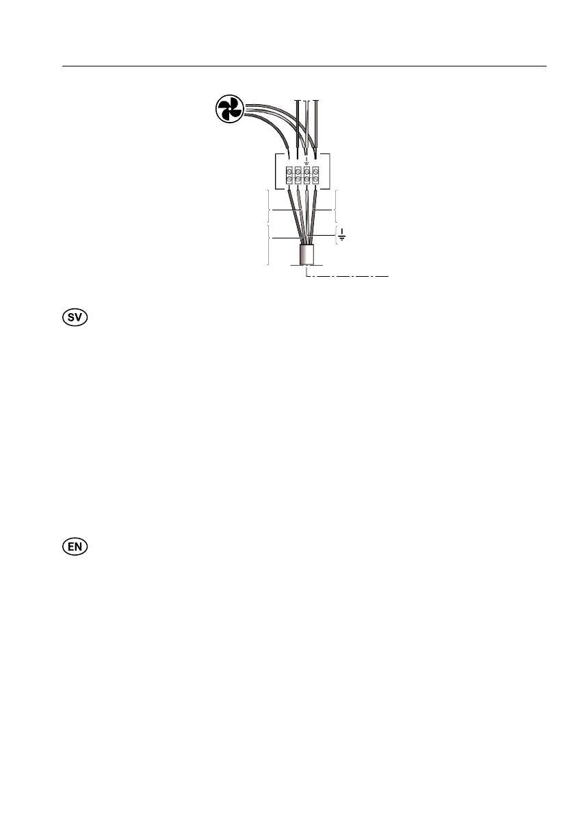
ELEKTRISK INSTALLATION
L N1
Svart
ELEKTRISK INSTALLATION
OBS!
För att undvika att fara uppstår ska fast installation, utbyte av sladdställ eller
annan typ av anslutning utföras av behörig fackman.
Elektrisk anslutning till 230
V~ med skyddsjord.
Max anslutningseffekt 300 W vid 230 V. Utgående spänning från transformator 60, 80,
100, 130, 145 och 180 V. Vid leverans är 100 och 130 V inkopplad.
Anslutningen skall göras fast och spiskåpan måste föregås av en allpolig brytare.
Kopplingsbox eller vägguttag ska vara åtkomligt efter installation.
Om anslutningskabeln är skadad måste den bytas ut mot en motsvarande specialkabel från
tillverkaren eller dess serviceagent.
ELECTRICAL INSTALLATION
OBS!
In order to avoid a potential hazard, installation, replacement of cables or other
types of connection should be carried out by a qualified professional.
Electrical connection for 230
V~ earthed.
Max. connection power 300 W at 230 V. Output voltage from transformer 60, 80, 100,
130, 145 and 180 V. At delivery 100 and 130 V are connected.
The connection must be secured and the cooker hood must be preceded by an omnipolar switch.
The junction box or wall socket must be accessible after installation is complete.
If the connector is damaged, it must be replaced with an equivalent special cable from the
manufacturer of their service agent..
Brun
Bruin
Brown
Ruskea
Black
Musta
Sort
Blauw
Blå
Sininen
Blue
Zwart
991.0623.742/D000000006431/180009/2023-02-01 35
Bekijk gratis de handleiding van Franke Alliance 1240B-16, stel vragen en lees de antwoorden op veelvoorkomende problemen, of gebruik onze assistent om sneller informatie in de handleiding te vinden of uitleg te krijgen over specifieke functies.
Productinformatie
| Merk | Franke |
| Model | Alliance 1240B-16 |
| Categorie | Afzuigkap |
| Taal | Nederlands |
| Grootte | 4571 MB |







