Handleiding
Je bekijkt pagina 108 van 140

RU
1
108
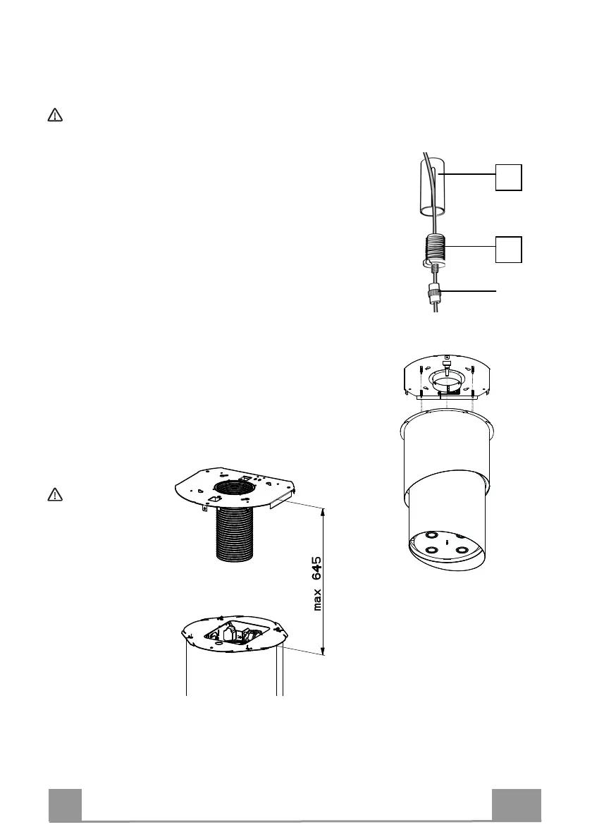
СОЕДИНЕНИЕ ПРОВОДОВ ВЫТЯЖКА - ПЛИТА
Прим. прежде чем продолжить установку, поднимите вытяжку на высоту на
менее 650 мм над варочной панелью, установив опору, или с помощью
второго человека.
Это необходимо, так как во время соединения проводов вытяжки с закрепленной к
потолку плитой вес прибора не должен отягощать структуру.
Система крепления 4 проводов состоит из 3 частей.
• Защелка с резьбой (a), установленная на потолочной плите.
• Кабельный фиксатор (b), прилагаемый в комплекте.
• Предохранительная рукоятка (c), прилагаемая в комплекте.
• Поставьте предохранительные рукоятки (c) на
соответствующие провода; при этом резьба
должна быть обращена вверх.
• Поставьте кабельные фиксаторы (b) на
соответствующие кабели.
• Следите за положением установки потолочной плиты (в
стопорной защелке плиты имеется отверстие,
соответствующее отверстию в корпусе вытяжки).
Внимание:
максимально
е
расширение
вытяжки не
должно
превышать
645 мм.
a
b
c
Bekijk gratis de handleiding van Faber The Pareo Plus, stel vragen en lees de antwoorden op veelvoorkomende problemen, of gebruik onze assistent om sneller informatie in de handleiding te vinden of uitleg te krijgen over specifieke functies.
Productinformatie
| Merk | Faber |
| Model | The Pareo Plus |
| Categorie | Afzuigkap |
| Taal | Nederlands |
| Grootte | 12806 MB |







