Handleiding
Je bekijkt pagina 68 van 196

Verpackungsmaterial mit dem Symbol
ist wieder verwendbar. Das Verpa-
ckungsmaterial in den dafür vorgesehe-
nen Containern für Recyclingmaterial
entsorgen.
Energieeinsparung
Die nachstehenden Empfehlungen tra-
gen dazu bei, beim täglichen Kochen
Energie einzusparen.
• Nur die erforderliche Menge an Was-
ser erwärmen.
• Wenn möglich, die Töpfe immer mit
dem Deckel abdecken.
• Den Topf auf die Kochzone stellen,
bevor diese aktiviert wird.
• Die kleineren Töpfe auf die kleineren
Kochzonen stellen.
• Die Töpfe direkt in der Mitte der
Kochzone platzieren.
• Die Restwärme nutzen, um Lebens-
mittel warm zu halten oder zu
schmelzen.
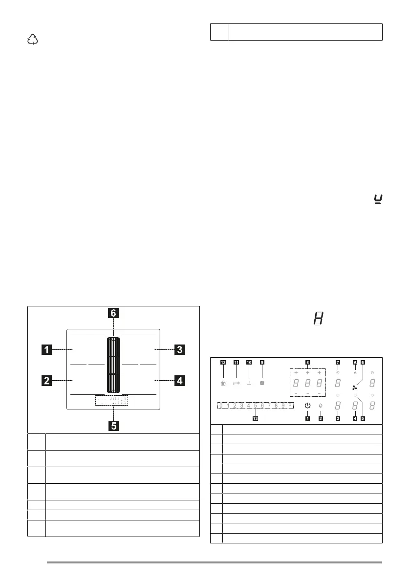
7. PRODUKTBESCHREIB
UNG
1
Einzelne Kochzone (210x190 mm) 2100 W, mit 3000
W Boosterfunktion
2
Einzelne Kochzone (210x190 mm) 2100 W, mit 3000
W Boosterfunktion
3
Einzelne Kochzone (210x190 mm) 2100 W, mit 3000
W Boosterfunktion
4
Einzelne Kochzone (210x190 mm) 2100 W, mit 3000
W Boosterfunktion
5
Bedienfeld
6
Ansauggitter
1 + 2
Kombinierbare Kochzone (210 x 380 mm) 3000 W,
mit Booster-Funktion 3700 W.
3 + 4
Kombinierbare Kochzone (210 x 380 mm) 3000 W,
mit Booster-Funktion 3700 W.
ANZEIGEN
Erfassung des Vorhandenseins eines
Topfes
Jede Kochzone ist mit einem System
ausgestattet, welches das Vorhanden-
sein eines Topfes auf dem Kochfeld er-
kennt.
Das Topf-Erkennungssystem erkennt
Töpfe mit einem magnetisierbaren Bo-
den, der für Induktionskochfelder geeig-
net ist.
Wenn der Topf während des Betriebs
entfernt oder ein ungeeigneter Topf ver-
wendet wird, erscheint das Symbol
auf dem Display.
Restwärmeanzeige
Die Restwärmeanzeige ist eine Sicher-
heitsfunktion und signalisiert, dass die
Oberfläche der Kochzone noch eine
Temperatur von 50 °C oder mehr hat
und daher bei Berührung mit bloßen
Händen Verbrennungen verursachen
könnte. Die Digit-Taste der entspre-
chenden Kochzone gibt an.
8. BEDIENFELD
1
Ein/Aus
2
Sättigungsanzeige Fettfilter
3
Leistungsstufenanzeige Kochzonen
4
Leistungsanzeige des Abzugs
5
Timer-Steuerung des Abzugs
6
Symbol für den Steuerbereich des Abzugs
7
Timer-Steuerung des Kochbereichs
8
Steuerungsbereich des Timers
9
Sättigungsanzeige Aktivkohlefilter
10
Schmelzfunktionstaste
11
Sperrfunktionstaste
12
Pausenfunktionstaste
68
Bekijk gratis de handleiding van Faber Galileo Slim F600, stel vragen en lees de antwoorden op veelvoorkomende problemen, of gebruik onze assistent om sneller informatie in de handleiding te vinden of uitleg te krijgen over specifieke functies.
Productinformatie
| Merk | Faber |
| Model | Galileo Slim F600 |
| Categorie | Fornuis |
| Taal | Nederlands |
| Grootte | 23177 MB |


