Handleiding
Je bekijkt pagina 146 van 176

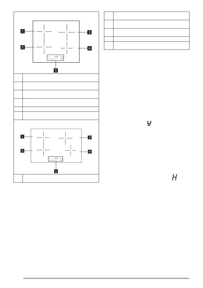
FCH 64 BK KL - FCH 64 GR KL
1
Единечна рингла (220 x 197 mm) 2100 W, со
функција на засилувач од 3000 W
2
Единечна рингла (220 x 197 mm) 2100 W, со
функција на засилувач од 3000 W
3
Единечна рингла (200 mm) 2300 W, со функција
на засилувач од 3000 W
4
Единечна рингла (145 mm) 1400 W, со функција
на засилувач од 1850 W
5
Контролна табла
1 + 2
Комбинирачка рингла (220 x 395 mm) 3000 W, со
функција на засилувач 3700 W
FCH 84 BK KL - FCH 84 GR KL
1
Единечна рингла (220 x 197 mm) 2100 W, со
функција на засилувач од 3000 W
2
Единечна рингла (220 x 197 mm) 2100 W, со
функција на засилувач од 3000 W
3
Единечна рингла (200 mm) 2300 W, со функција
на засилувач од 3000 W
4
Единечна рингла (160 mm) 1400 W, со функција
на засилувач од 2100 W
5
Контролна табла
1 + 2
Комбинирачка рингла (220 x 395 mm) 3000 W, со
функција на засилувач 3700 W
ИНДИКАТОРИ
Детекција на присуство на тенџере
Секоја рингла е опремена со систем
што го открива присуството на
тенџере врз плотната.
Системот за откривање е во состојба
да ги препознае тенџерињата со
магнетизирачко дно од соодветен тип
за употреба врз индукционите плотни.
Ако се тргне тенџерето за време на
функционирањето или се користи
несоодветно тенџере, на екранот се
појавува симболот
.
Индикатор за заостаната топлина
Индикаторот за заостаната топлина е
безбедносна функција за
сигнализирање дека површината на
ринглата е сè уште на температура
еднаква или поголема од 50 °C и
значи може да предизвика изгореници
при контакт со голи раце. Сензорот на
соодветната рингла покажува
.
146
Bekijk gratis de handleiding van Faber FCH 64 KL, stel vragen en lees de antwoorden op veelvoorkomende problemen, of gebruik onze assistent om sneller informatie in de handleiding te vinden of uitleg te krijgen over specifieke functies.
Productinformatie
| Merk | Faber |
| Model | FCH 64 KL |
| Categorie | Fornuis |
| Taal | Nederlands |
| Grootte | 19638 MB |


