Eurolite LED TMH-B120 handleiding
Handleiding
Je bekijkt pagina 8 van 36

00157392, Version 1.0
8/36
INSTALLATION
Projektormontage
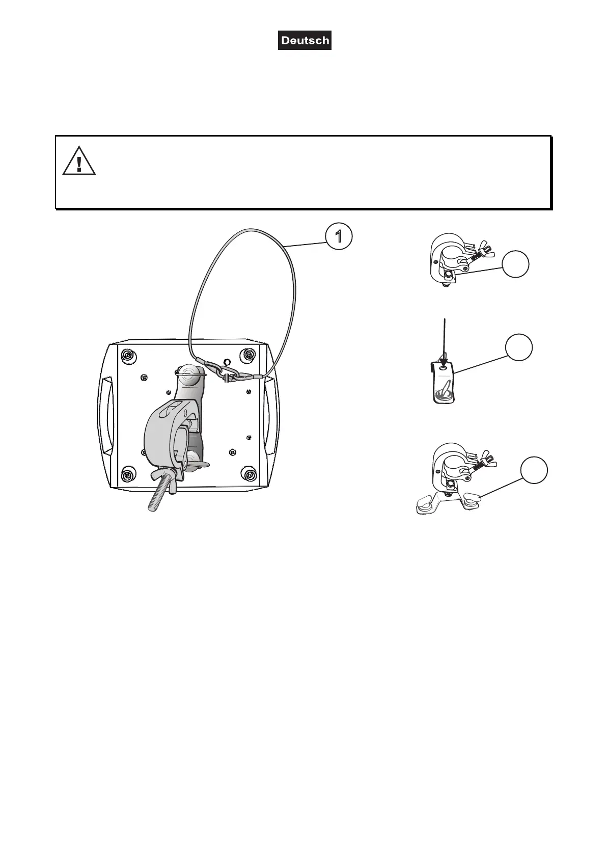
WARNUNG! Verletzungsgefahr durch Herabfallen
Über Kopf installierte Geräte können beim Herabstürzen erhebliche Verletzungen verursachen!
Stellen Sie sicher, dass das Gerät sicher installiert ist und nicht herunterfallen kann. Die Montage
darf nur durch eine Fachkraft erfolgen, die mit den Gefahren und den einschlägigen Vorschriften
hierfür vertraut ist.
Das Gerät kann auf dem Boden aufgestellt oder an einer Traverse oder einer anderen geeigneten Struktur
befestigt werden. Die Montage darf niemals freischwingend erfolgen.
1 Die tragende Struktur muss mindestens für das Zehnfache aller montierten Geräte ausgelegt sein.
2 Sperren Sie den Arbeitsbereich während der Montage und arbeiten Sie von einer stabilen Plattform aus.
3 Verwenden Sie Montagematerial, das für die Struktur geeignet ist und die Last des Geräts tragen kann.
Geeignetes Montagematerial finden Sie im Abschnitt „Zubehör“. Bitte beachten Sie auch die
Installationshinweise auf der Unterseite der Base. Verschrauben Sie eine Klammer über eine M10-
Schraube und selbstsichernde Mutter mit dem Omega-Bügel. Führen Sie die beiden Schnellverschlüsse
des Omega-Bügels in die dafür vorgesehenen Öffnungen an der Geräteunterseite ein. Drehen Sie die
Schnellverschlüsse im Uhrzeigersinn bis zum Anschlag fest.
4 Sichern Sie das Gerät mit einem Fangseil oder einer anderen geeigneten Einrichtung zusätzlich ab.
Diese zweite Aufhängung muss auf Grundlage der aktuellsten Arbeitsschutzbestimmungen ausreichend
dimensioniert und so angebracht sein, dass im Fehlerfall der Hauptaufhängung kein Teil der Installation
herabfallen kann. Für die Befestigung eines Fangseils muss zuerst die beigelegte Öse am Gerät montiert
werden. Hängen Sie das Schnellverschlussglied in die Öse am Boden der Gerätebase ein. Führen Sie
das Sicherungsseil über die Traverse bzw. einen sicheren Befestigungspunkt. Hängen Sie das Ende in
dem Schnellverschlussglied ein und ziehen Sie die Sicherungsmutter gut fest. Befestigen Sie das
Sicherungsseil so, dass der Fallweg des Geräts nicht mehr als 20 cm betragen kann.
5 Nach der Montage muss das Gerät regelmäßig gewartet und überprüft werden, um mögliche Korrosion,
Verformung und Lockerung zu vermeiden.
1
3
4
2
(1) Sicherheitsfangseil
(2) Klammer
(3) Omega-Bügel
(4) Schnellverschluss
Bekijk gratis de handleiding van Eurolite LED TMH-B120, stel vragen en lees de antwoorden op veelvoorkomende problemen, of gebruik onze assistent om sneller informatie in de handleiding te vinden of uitleg te krijgen over specifieke functies.
Productinformatie
| Merk | Eurolite |
| Model | LED TMH-B120 |
| Categorie | Verlichting |
| Taal | Nederlands |
| Grootte | 5122 MB |






