Eurolite LED Pixel Matrix Bar 10 RGB/WW handleiding
Handleiding
Je bekijkt pagina 13 van 44
00159459, Version 1.0
13/44
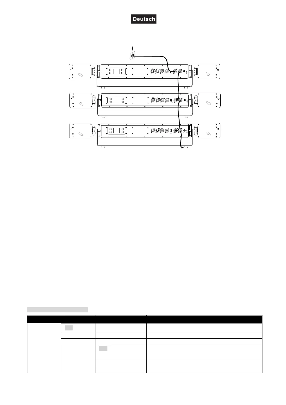
NETZANSCHLUSS
Das Gerät verfügt über ein Schaltnetzteil, das eine Netzspannung zwischen 100 und 240 Volt erlaubt.
1 Schließen Sie das beiliegende Netzkabel an und stecken Sie den Netzstecker in eine geerdete
Schutzkontaktsteckdose ein. Damit ist das Gerät eingeschaltet.
2 Zum Ausschalten ziehen Sie den Netzstecker aus der Steckdose.
3 Schließen Sie das Gerät nicht über einen Dimmer an die Netzspannung an. Für besseren Bedienkomfort
verwenden Sie eine schaltbare Steckdose.
4 Über den Netzausgang POWER OUT können weitere Geräte mit Strom versorgt werden. Zum
Zusammenschalten der Geräte, verbinden Sie immer den Ausgang POWER OUT mit dem Eingang
POWER IN des nächsten Geräts bis alle Geräte angeschlossen sind. Passende Netzkabel mit P-Con-
Stecker sind optional erhältlich. Auf diese Weise lassen sich bis zu 8 Geräte bei 230/240 Volt
Netzspannung und bis zu 4 Geräte bei 110/115 Volt Netzspannung zusammenschalten.
BEDIENUNG
Wenn Sie das Gerät an die Spannungsversorgung angeschlossen haben, benötigt es eine kurze
Einstellphase und ist danach betriebsbereit. Auch wenn Sie das Gerät vom Stromnetz trennen, bleiben alle
Einstellungen gespeichert.
Das Gerät verfügt über ein Bedienfeld mit Display, auf dem alle Betriebszustände abgelesen werden
können. Das Gerät kann entweder im Standalone-Modus über das Bedienfeld oder im DMX-gesteuerten
Modus über einen handelsüblichen DMX-Controller betrieben werden. Mit einem passenden Funkempfänger
kann das DMX-Steuersignal auch drahtlos auf das Gerät übertragen werden. Mithilfe des Displays und der
Bedientasten lassen sich die Betriebsarten einstellen.
Menüstruktur
Vorgabewerte grau unterlegt
Submenü 1
SSubmenü 2
Submenü 3 Beschreibung
DMX Setup
ADDR
(Address)
001 – 512
Einstellen der DMX-Startadresse
Prev
Schnelle DMX-Adressierung zum Vorherigen
Next
Schnelle DMX-Adressierung zum Nächsten
Chan*
4CH 4-Kanal-Modus
10CH 10-Kanal-Modus
15CH 15-Kanal-Modus
40CH 40-Kanal-Modus
T
2A/250V
NETWORKNETWORK
DMX OUTDMX IN
POWER IN
POWER OUT
100-240V~ 50/ 60Hz
T2A/250V
NETWORKNETWORK
DMX OUTDMX IN
POWER IN
POWER OUT
100-240V~ 50/ 60Hz
T2A/250V
NETWORKNETWORK
DMX OUTDMX IN
POWER IN
POWER OUT
100-240V~ 50/ 60Hz
Bekijk gratis de handleiding van Eurolite LED Pixel Matrix Bar 10 RGB/WW, stel vragen en lees de antwoorden op veelvoorkomende problemen, of gebruik onze assistent om sneller informatie in de handleiding te vinden of uitleg te krijgen over specifieke functies.
Productinformatie
| Merk | Eurolite |
| Model | LED Pixel Matrix Bar 10 RGB/WW |
| Categorie | Verlichting |
| Taal | Nederlands |
| Grootte | 4916 MB |






