Eurolite LED KLS Laser Bar FX handleiding
Handleiding
Je bekijkt pagina 8 van 52

00161181, Version 1.0
8/52
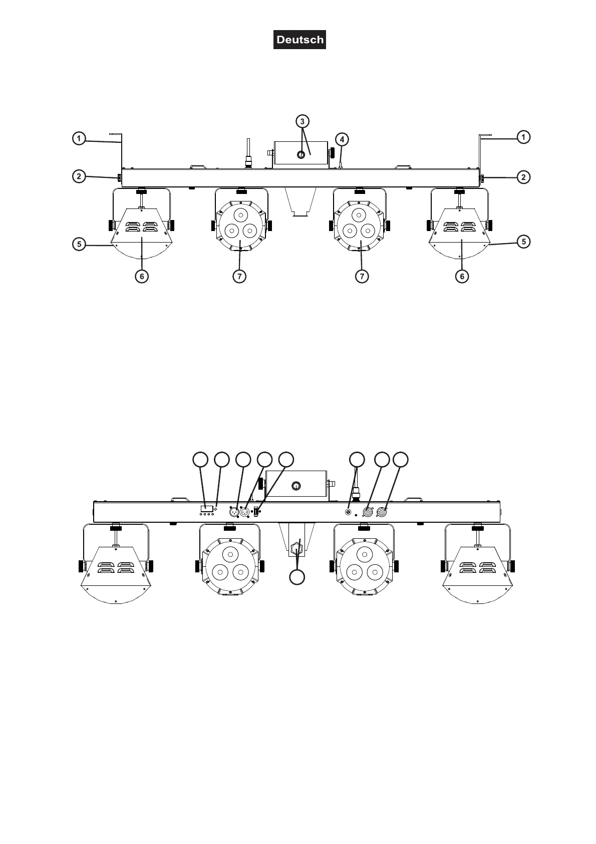
GERÄTEBESCHREIBUNG
Vorne
(1) Montagebügel
(2) Feststellschrauben
(3) Laser und Laseraustrittsöffnung
(4) Fangseilöse
(5) RGB-LEDs
(6) Derby mit 3-W-LEDs in R, G, B, W
(7) Spot mit 8-W-RGB/WW-LEDs
Hinten
(8) Display mit Bedientasten
(9) Mikrofon
(10) DMX-Eingang
(11) DMX-Ausgang
(12) WirelessDMX-Buchse
(13) Sicherungshalter
(14) Netzeingang
(15) Netzausgang
(16) Stativhülse mit Feststellschraube
16
8 9 10 11 1312 14
15
Bekijk gratis de handleiding van Eurolite LED KLS Laser Bar FX, stel vragen en lees de antwoorden op veelvoorkomende problemen, of gebruik onze assistent om sneller informatie in de handleiding te vinden of uitleg te krijgen over specifieke functies.
Productinformatie
| Merk | Eurolite |
| Model | LED KLS Laser Bar FX |
| Categorie | Verlichting |
| Taal | Nederlands |
| Grootte | 6692 MB |






