Eurolite LED GF-100 handleiding
Handleiding
Je bekijkt pagina 9 van 32

00157438, Version 1.1
9/32
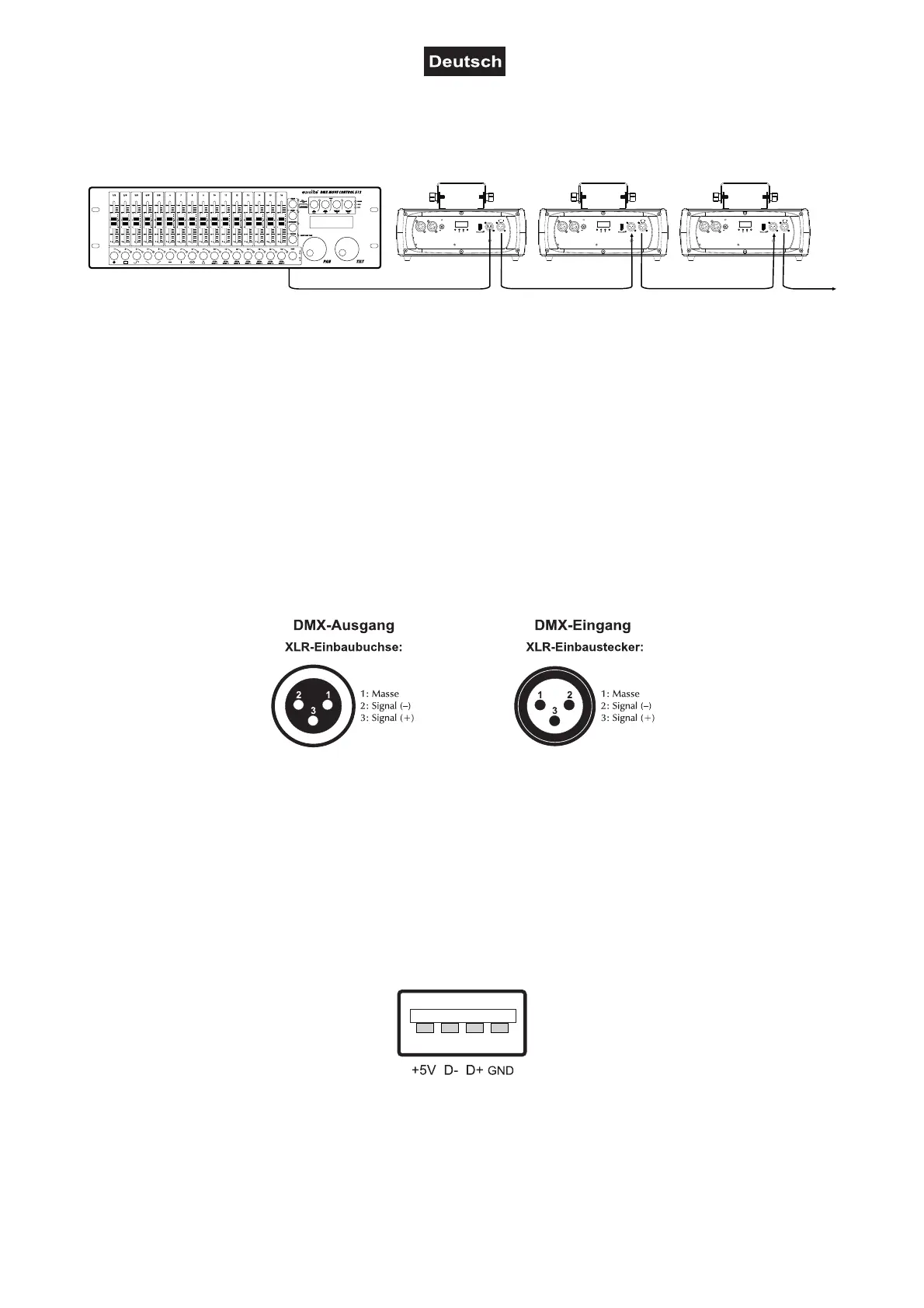
ANSCHLÜSSE
DMX512-Ansteuerung
Für die Ansteuerung des Geräts per DMX512 ist eine Datenverbindung notwendig. Das Gerät verfügt dazu
über 3-polige XLR-Anschlüsse.
1 Verbinden Sie den Ausgang Ihres Controllers mit dem DMX-Eingang DMX IN des Geräts über ein DMX-
Kabel.
2 Verbinden Sie den DMX-Ausgang DMX OUT des Geräts mit dem DMX-Eingang des nächsten Geräts in
der Kette. Verbinden Sie immer einen Ausgang mit dem Eingang des nächsten Geräts bis alle Geräte
angeschlossen sind.
3 Am letzten Gerät muss die DMX-Leitung durch einen Abschlusswiderstand abgeschlossen werden. Dazu
wird ein XLR-Stecker in den DMX-Ausgang am letzten Gerät gesteckt, bei dem zwischen Signal (–) und
Signal (+) ein 120-Ω-Widerstand eingelötet ist.
4 Ab einer Kabellänge von 300 m oder nach 32 angeschlossenen DMX-Geräten sollte das Signal mit Hilfe
eines DMX-Aufholverstärkers verstärkt werden, um eine fehlerfreie Datenübertragung zu gewährleisten.
Belegung der XLR-Verbindung:
Drahtlose DMX-Übertragung
Das Gerät verfügt über einen weiteren DMX-Eingang für einen QuickDMX-Empfänger (separat erhältliches
Zubehör). CRMX- und WDMX-Empfänger sind kompatibel und können ebenfalls verwendet werden. Über
den Anschluss lässt sich ein DMX-Steuersignal drahtlos auf das Gerät übertragen, wodurch die aufwändige
Verkabelung zum DMX-Lichtsteuergerät entfällt. Der Anschluss ist als USB-Buchse ausgeführt, die die
benötigte Betriebsspannung von 5 V für den Empfänger zur Verfügung stellt.
Belegung der USB-Buchse:
Gerät 3
Startadresse 11
Gerät 2
Startadresse 6
Gerät 1
Startadresse 1
DMX-Controller
Program
Chase32 Step100
DMX IN DMX OUT
SAFETY
EYELET
MENU
ENTER
T2A
/
250V
POWER IN
100-240V~ 50/60 Hz
POWER OUT
DMX IN DMX OUT
SAFETY
EYELET
MENU
ENTER
T2A
/
250V
POWER IN
100-240V~ 50/60 Hz
POWER OUT
DMX IN DMX OUT
SAFETY
EYELET
MENU
ENTER
T2A
/
250V
POWER IN
100-240V~ 50/60 Hz
POWER OUT
Bekijk gratis de handleiding van Eurolite LED GF-100, stel vragen en lees de antwoorden op veelvoorkomende problemen, of gebruik onze assistent om sneller informatie in de handleiding te vinden of uitleg te krijgen over specifieke functies.
Productinformatie
| Merk | Eurolite |
| Model | LED GF-100 |
| Categorie | Verlichting |
| Taal | Nederlands |
| Grootte | 3812 MB |






