Handleiding
Je bekijkt pagina 19 van 76

– Place the appliance on a flat, dry and clean surface.
– Always set the airflow so that the room heating will be optimised (avoid placing the
appliance at small corners, in small rooms, on wooden floor, near to ceiling, etc.).
Use
Place the appliance at a suitable place. Insert the power cable fork in power socket.
Thermostat
The appliance is fit with a room thermostat to maintain temperature in the heated room
(for 0624 version, adjust the temperature by B4; for 1624 version, by A5 with the set value
visible on A6 display). The thermostat will maintain the required room temperature by
automatic switching the heating spirals on or off.
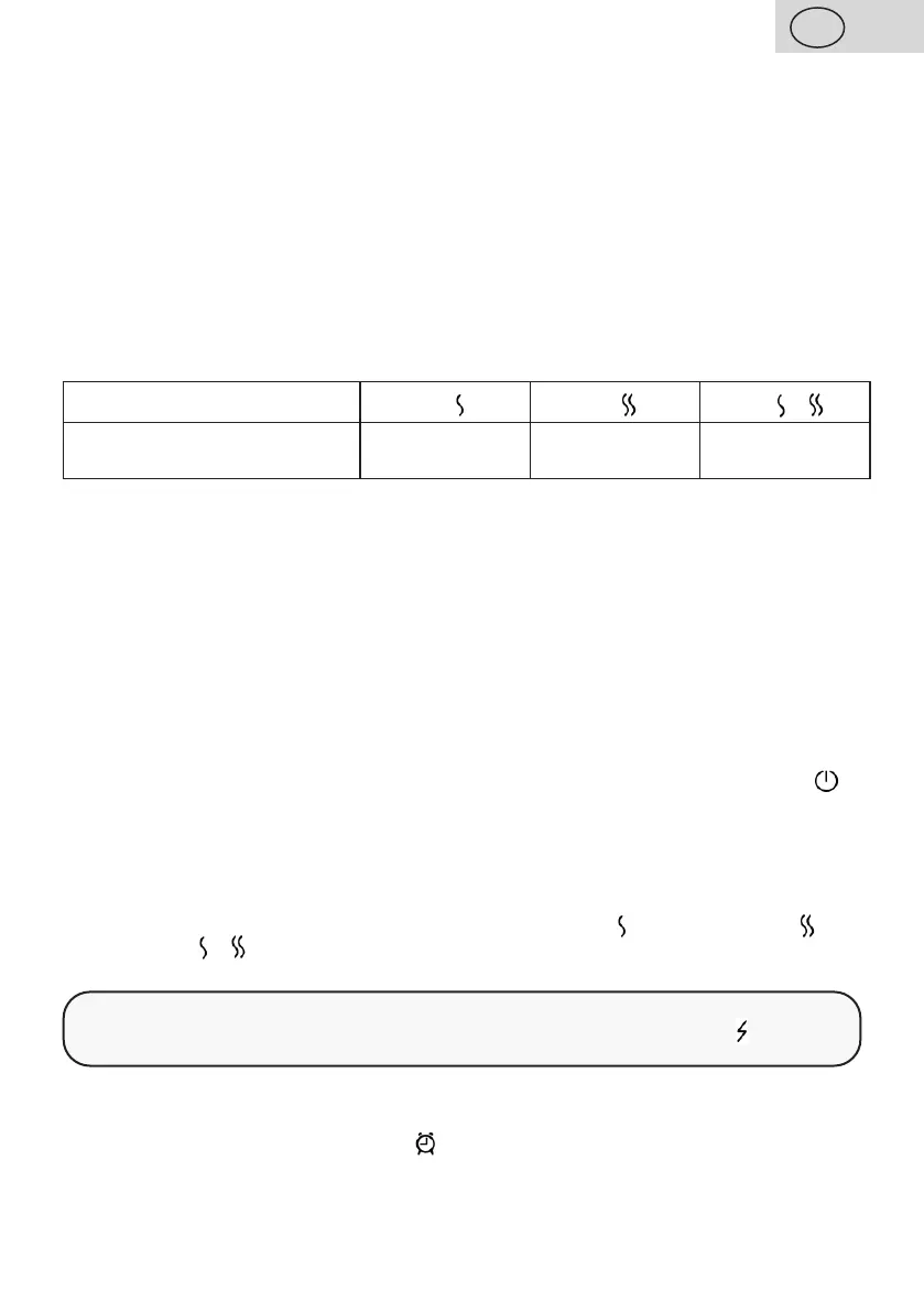
Power setup (0624/1624)
1 /
2 /
3 / +
Convector power
consumption
750 W 1250 W 2000 W
A) ETA0624
By rotating B3 switch, set the required position (function) and set the desired temperature
by rotating the regulator B4. Switch off the appliance by rotating B3 switch to position 0.
Power switch B3
Position 0 – OFF
Position 1 – Low heating power
Position 2 – Medium heating power
Position 3 – High heating power
B) ETA1624
1) To switch the convector to standby mode, press ON/OFF switch A3 (indicator light
will switch on).
2) Pressing ON/OFF button A4 will activate the convector. Audio signal will sound.
3) Set the required heating temperature between 5 to 35 °C by rotating multifunctional
switch A5.
4) Set the required heating power by short pressing the multifunctional switch A5, and the
respective indicator lights will turn on as follows: low output (
) > medium output ( ) >
high output (
+ ) > ...
Note
Once the heating spirals are active (convector is heating), the indicator light
will turn on.
Timer setup
Activate the mode of automatic switch-off after certain time by long pressing the
multifunctional switch A5 (indicator light
will turn on) - then set the timer to the desired
value in the interval 0 to 24 hours by rotating the same switch (A5). Confirm the set value
by short pressing A5 switch or wait 15 seconds for automatic confirmation.
To deactivate the function, set the value to 00.
ENG
19 / 63
Bekijk gratis de handleiding van ETA Warmie 0624 90000, stel vragen en lees de antwoorden op veelvoorkomende problemen, of gebruik onze assistent om sneller informatie in de handleiding te vinden of uitleg te krijgen over specifieke functies.
Productinformatie
Merk | ETA |
Model | Warmie 0624 90000 |
Categorie | Heater |
Taal | Nederlands |
Grootte | 6460 MB |
Caratteristiche Prodotto
Soort bediening | Draaiknop |
Kleur van het product | Black, White |
Aantal vermogenniveau's | 3 |
Breedte | 435 mm |
Diepte | 220 mm |