EPEVER Tracer 8415AN handleiding

36 pagina's
PDF beschikbaar

Handleiding

Je bekijkt pagina 35 van 36
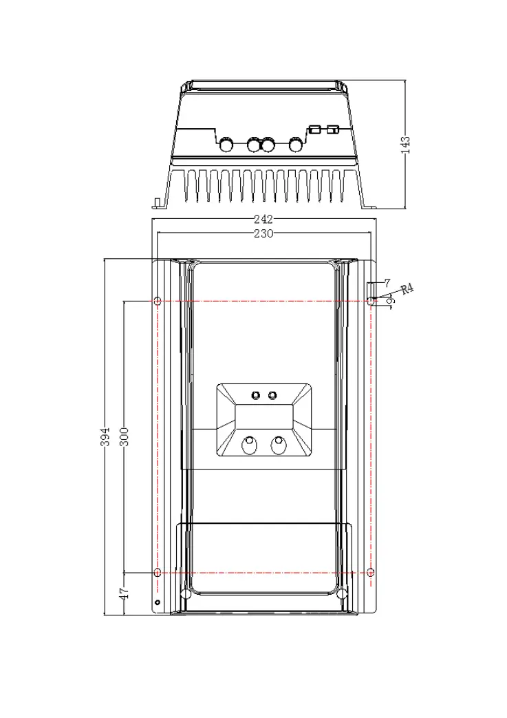
31
Tracer10415/10420AN
Any changes without prior notice! Version number: V3.4

Bekijk gratis de handleiding van EPEVER Tracer 8415AN, stel vragen en lees de antwoorden op veelvoorkomende problemen, of gebruik onze assistent om sneller informatie in de handleiding te vinden of uitleg te krijgen over specifieke functies.

Productinformatie

MerkEPEVER
ModelTracer 8415AN
CategorieNiet gecategoriseerd
TaalNederlands
Grootte4047 MB