EPEVER Tracer 6415AN handleiding

36 pagina's
PDF beschikbaar

Handleiding

Je bekijkt pagina 33 van 36
29
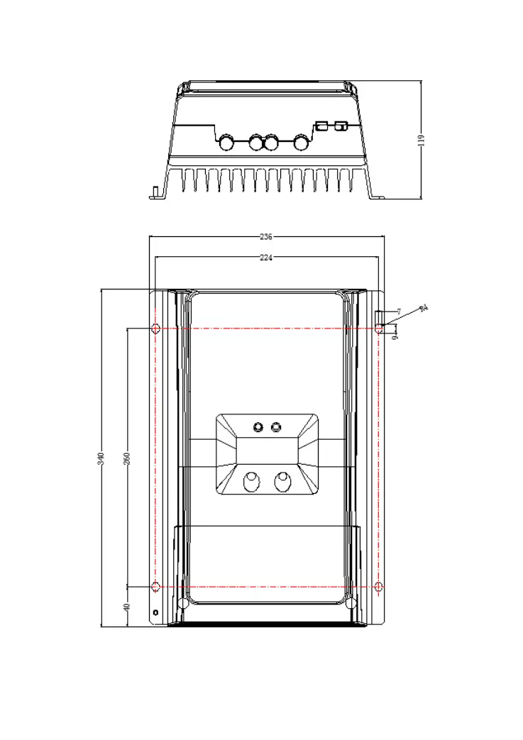
Tracer6415/6420AN

Bekijk gratis de handleiding van EPEVER Tracer 6415AN, stel vragen en lees de antwoorden op veelvoorkomende problemen, of gebruik onze assistent om sneller informatie in de handleiding te vinden of uitleg te krijgen over specifieke functies.

Productinformatie

MerkEPEVER
ModelTracer 6415AN
CategorieNiet gecategoriseerd
TaalNederlands
Grootte4047 MB