EPEVER Tracer 10420AN handleiding

36 pagina's
PDF beschikbaar

Handleiding

Je bekijkt pagina 35 van 36
31
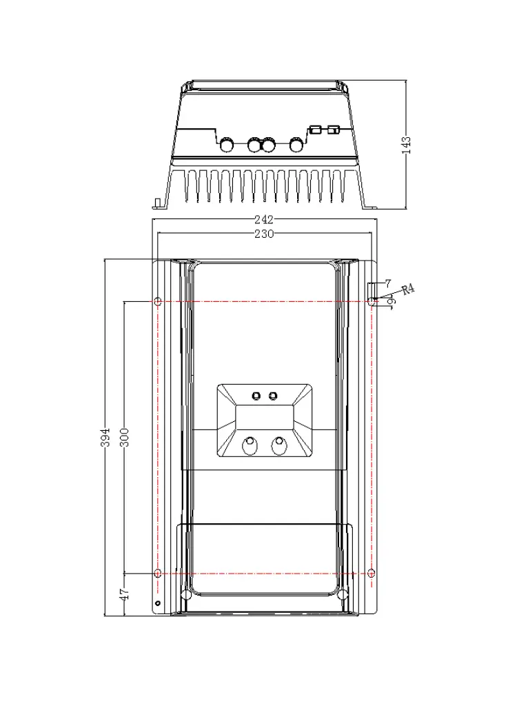
Tracer10415/10420AN
Any changes without prior notice! Version number: V3.4

Bekijk gratis de handleiding van EPEVER Tracer 10420AN, stel vragen en lees de antwoorden op veelvoorkomende problemen, of gebruik onze assistent om sneller informatie in de handleiding te vinden of uitleg te krijgen over specifieke functies.

Productinformatie

MerkEPEVER
ModelTracer 10420AN
CategorieNiet gecategoriseerd
TaalNederlands
Grootte4047 MB