Emko EPM-7790 handleiding
Handleiding
Je bekijkt pagina 33 van 37

33
If no operation is performed in Programming mode for 20 seconds, device turns to
operation screen automatically.
i
P
SET
P
SET
P
SET
P
SET
P
SET
P
SET
P
SET
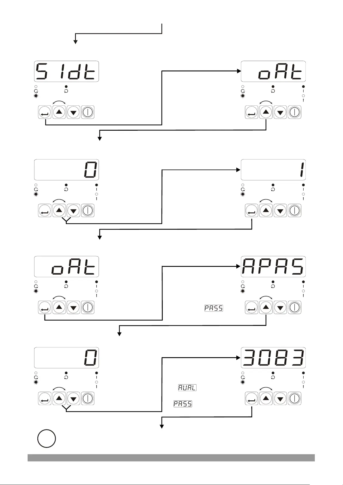
Press increment button
for accessing to the
password entering
screen. If set button is
pressed,
parameter is shown.
Adjustment Section
Accessing Password Value
P
SET
Set Changing Value
Parameter
Adjustment Section
Accessing Password
Analogue Output Range
Selection Parameter
Analogue Output Range
Selection Parameter
Press set button If the
password value is
entered as 3083,
screen is
accessed, otherwise
parameter is
seen
Change the value
with increment and
decrement buttons
Parameter is accessed
by pressing increment
button. If set button is
pressed, next
parameter is shown.
Press Set button
for accessing to
the next
parameter
Press Set button
for saving the
parameter value
Change the value
with increment and
decrement buttons
Press Set button
for accessing to
the next
parameter
Analogue Output Range Selection
Parameter (0...10V or 0...20mA Selected)ZZ
Analogue Output Range Selection
Parameter (2...10V or 4...20mA Selected)ZZ
Adjustment Section
Accessing Password Value
Bekijk gratis de handleiding van Emko EPM-7790, stel vragen en lees de antwoorden op veelvoorkomende problemen, of gebruik onze assistent om sneller informatie in de handleiding te vinden of uitleg te krijgen over specifieke functies.
Productinformatie
| Merk | Emko |
| Model | EPM-7790 |
| Categorie | Niet gecategoriseerd |
| Taal | Nederlands |
| Grootte | 4031 MB |
