Elsner KNX WS1000 Style handleiding
Handleiding
Je bekijkt pagina 9 van 140

7 Description
Control System KNX WS1000 Style • Version: 28.05.2018 • Technical changes and errors excepted.
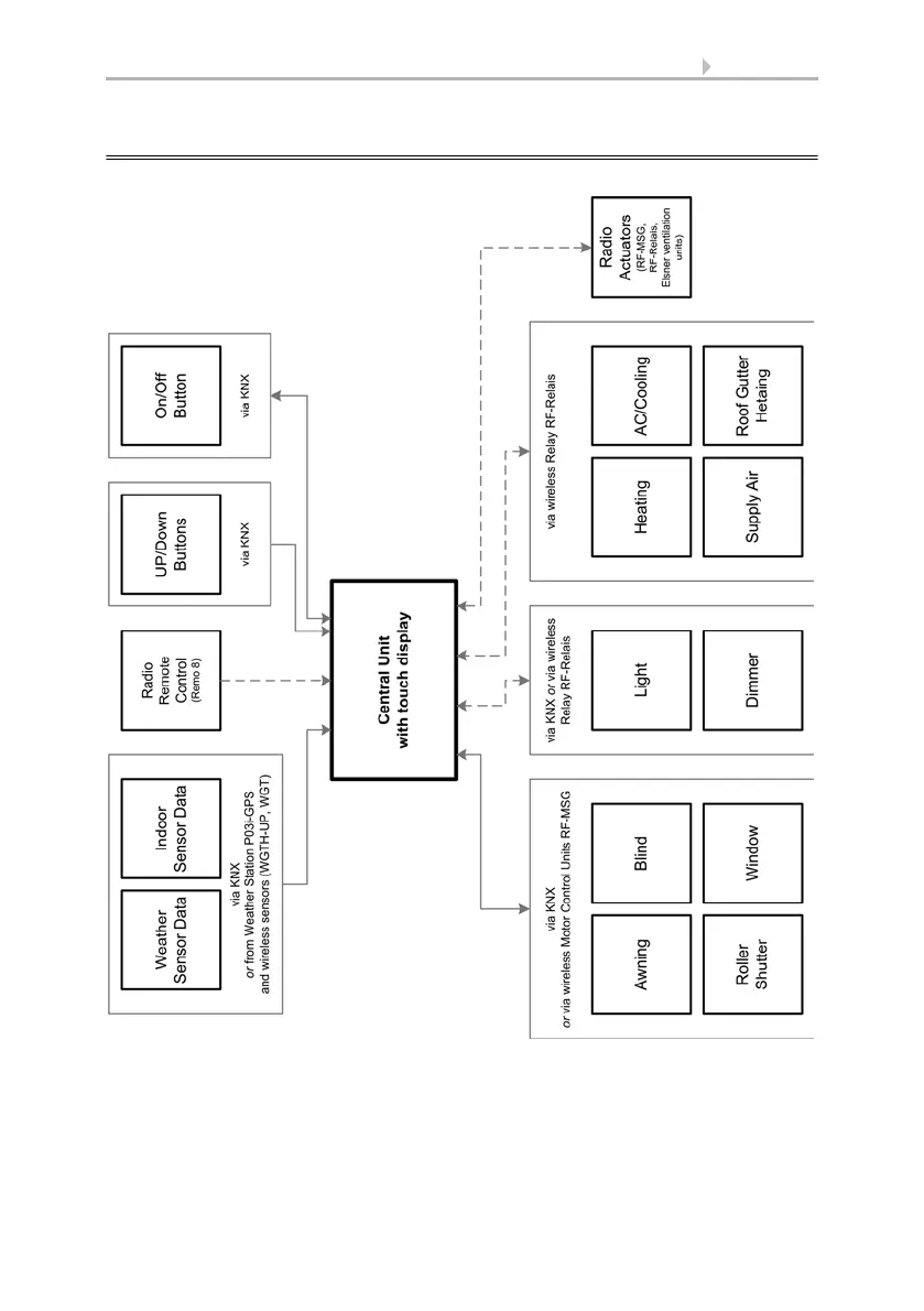
1.2. Connection and control options
The following sensor parameters can be processed by the automatic of the control:
• Outdoor and indoor temperature
• Air humidity inside
• CO2 concentration inside
• Brightness (intensity and direction, twilight recognition)
Bekijk gratis de handleiding van Elsner KNX WS1000 Style, stel vragen en lees de antwoorden op veelvoorkomende problemen, of gebruik onze assistent om sneller informatie in de handleiding te vinden of uitleg te krijgen over specifieke functies.
Productinformatie
| Merk | Elsner |
| Model | KNX WS1000 Style |
| Categorie | Niet gecategoriseerd |
| Taal | Nederlands |
| Grootte | 12479 MB |







