Handleiding
Je bekijkt pagina 10 van 100

device should be turned on at minimum speed, and left on
for a few minutes even after cooking is complete. Increase
the speed only if there is a large quantity of fumes and
steam, using the Booster function only in extreme cases.
To keep the odour reduction system running efficiently,
replace the carbon filter/s when necessary. To ensure the
high performance of the grease filter, clean it when
necessary. To improve efficiency and minimise noise, use
the maximum duct diameter indicated in this manual.
END-OF-LIFE DISPOSAL
This device is marked in compliance with the Eu-
ropean Directive 2012/19/EC - UK SI 2013
No.3113, Waste Electrical and Electronic Equip-
ment (WEEE). Make sure that this product is di-
sposed of correctly. The user helps prevent po-
tential negative consequences for the environ-
ment and for health.
The symbol on the product or accompanying
documentation indicates that this product should not be
treated as household waste but should be handed over at a
suitable collection point for the recycling of electrical and
electronic equipment. Dispose of it in accordance with local
regulations for waste disposal. For further information
about the treatment, recovery and recycling of this product,
please contact your local authority, the collection service
for household waste or the shop from where the product
was purchased.
REGULATIONS
Equipment designed, tested and manufactured in
compliance with safety regulations: EN/IEC 60335-1; EN/
IEC 60335-2- 31, EN/IEC 62233. Performance: EN/IEC
61591; ISO 5167-1; ISO 5167-3; ISO 5168; EN/IEC
60704-1; EN/IEC 60704-2-13;EN/IEC 60704-3; ISO 3741;
EN 50564; IEC 62301. EMC: EN 55014-1; CISPR 14-1; EN
55014-2; CISPR 14-2; EN/IEC 61000-3-2; EN/IEC
61000-3-3.
USE
The hood is made to be used in the suction version with
external evacuation.
ATTENTION!: The pipes are not supplied and must be
purchased separately.
Vapours are evacuated outside through an exhaust pipe
attached to the connecting flange.
CAUTION! If the product features one or more carbon
filters, they must be removed.
The use of pipes and outlet holes in the wall with a smaller
diameter will reduce the extraction performance and
drastically increase the noise level.
All responsibility in this regard is therefore denied.
• Use a ducting pipe with the shortest length necessary.
• Use a ducting pipe with the least number of bends
possible (maximum bend angle: 90°).
• Avoid drastic changes in the ducting pipe diameter.
ELICA CONNECT
The hood features a Wi-Fi function for remote connection
via the Elica Connect App. Minimum system requirements:
• 2.4GHz Wi-Fi b/g/n wireless router • Android or iOs
Smartphone. Via the stores, check that the app is
compatible with the operating system your Smartphone is
running.
Note: The ELICA manufacturer declares that this model of
household appliance with WiFi module radio equipment
complies with Directive 2014/53/EU.
The radio equipment operates within the 2.4GHz ISM
frequency band, the maximum radio frequency power
transmitted does not exceed 20 dBm (e.i.r.p.).
Warnings:
• Data protection: The data that the connected device
detects is collected to allow for all the services of the
connected appliance to be used. Further information on
how the collected data is processed and on the privacy
policy is available at www.elica.com.
• Availability in different countries: The Elica Connect
service is available in specific countries. For further
information, see the dedicated section at
www.elica.com or check for availability from your
Smartphone store by searching for the Elica Connect App.
• Future changes: Elica reserves the right to make any
changes deemed useful to improve the Elica Connect
service. As a result, the descriptions contained in this
manual are not binding and should be treated as purely
indicative.
OPERATION
CONTROL PANEL
THINGS TO KNOW BEFORE STARTING
This product requires some preliminary operations before
being used:
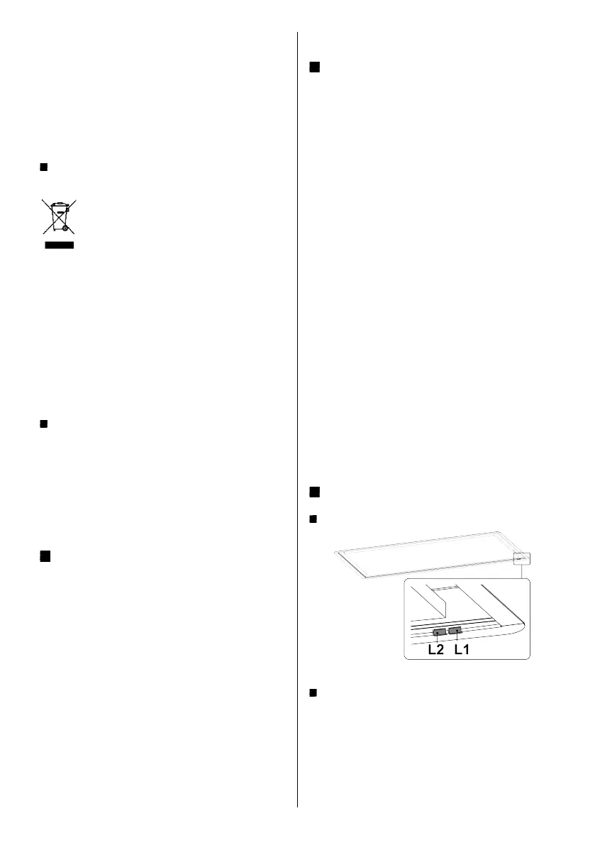
● NECESSARY OPERATION:
Radio Control pairing.
This product is designed to work with the Elica Radio
Control only. In order to be able to use this product, the
10
Bekijk gratis de handleiding van Elica ILLUSION PRF0146251B, stel vragen en lees de antwoorden op veelvoorkomende problemen, of gebruik onze assistent om sneller informatie in de handleiding te vinden of uitleg te krijgen over specifieke functies.
Productinformatie
| Merk | Elica |
| Model | ILLUSION PRF0146251B |
| Categorie | Afzuigkap |
| Taal | Nederlands |
| Grootte | 13825 MB |







