Handleiding
Je bekijkt pagina 55 van 94

nopeutta vain kun paikalla on suuri määrä savua ja höyryä:
käytä booster-toimintoa vain ääritapauksissa. Vaihda
tarvittaessa hiilisuodatin/suodattimet hajujen
vähennysjärjestelmän tehokkuuden säilyttämiseksi. Jotta
rasvasuodattimen tehokkuus säilyisi, puhdista se tarpeen
vaatiessa. Tehokkuuden ja melutason vähentämiseksi
käytä tässä ohjekirjassa osoitettua kanavoinnille
tarkoitettua maksimaalista halkaisijaa.
HÄVITTÄMINEN KÄYTTÖIÄN
PÄÄTTEEKSI
Tämä laite on merkitty Euroopan direktiivin
2012/19/EY mukaisesti - UK SI 2013 No.3113,
Waste Electrical and Electronic Equipment
(WEEE). Varmista, että tämä tuote hävitetään oi-
keaoppisesti. Käyttäjä huolehtii siitä, että ympäri-
stölle ja terveydelle ei koidu mahdollisia seurauk-
sia.
Symboli tuotteessa tai tuotteen mukana toimitetuissa
asiakirjoissa osoittaa, että tätä tuotetta ei tule käsitellä
tavallisena kotitalousjätteenä vaan se tulee toimittaa
sopivaan keräyspisteeseen, jossa sähkö- ja
elektroniikkalaitteet kierrätetään. Hävitä laite noudattamalla
paikkakuntasi jätehuoltoa koskevia säädöksiä. Jos tahdot
lisätietoja laitteen keräyksestä, käsittelystä ja
kierrätyksestä, ota yhteys paikkakuntasi jätehuoltoon,
talousjätteiden keräyspisteeseen tai liikkeeseen, josta laite
on hankittu.
MÄÄRÄYKSET
Laite on suunniteltu, testattu ja valmistettu seuraavien
turvallisuusmääräysten mukaisesti: EN/IEC 60335-1; EN/
IEC 60335-2- 31, EN/IEC 62233. Suorituskyky: EN/IEC
61591; ISO 5167-1; ISO 5167-3; ISO 5168; EN/IEC
60704-1; EN/IEC 60704-2-13;EN/IEC 60704-3; ISO 3741;
EN 50564; IEC 62301. EMC: EN 55014-1; CISPR 14-1; EN
55014-2; CISPR 14-2; EN/IEC 61000-3-2; EN/IEC
61000-3-3.
KÄYTTÖ
Liesituuletin on valmistettu käytettäväksi imevänä mallina,
jossa on poisto ulos.
VAROITUS!: Putkia ei toimiteta, ja ne tulee hankkia
erikseen.
Höyryt tyhjennetään ulospäin poistoputkesta, joka on
kiinnitetty liitäntälaippaan ja yhdistetty erilliseen
imulaitteeseen (ei kuulu toimitukseen).
Liitäntäohjeet toimitetaan erillisen imulaitteen mukana.
VAROITUS! Jos tuotteessa on yksi tai useampi
hiilisuodatin, se tulee poistaa.
Jos käytetään halkaisijaltaan pienempiä putkia ja seinässä
olevia poistoaukkoja, imukyky heikkenee ja melu lisääntyy
huomattavasti.
Näin ollen kaikki siihen liittyvä vastuu hylätään.
• Käytä mahdollisimman lyhyttä putkea.
• Käytä putkea, jossa on mahdollisimman vähän käänteitä
(käänteen maksimi kulma: 90°).
• Vältä äkillisiä muutoksia putken halkaisijassa.
ELICA CONNECT
Liesituuletin on varustettu WiFi-toiminnolla etäyhteyttä
varten Elica Connect-sovelluksen kautta. Järjestelmän
minimivaatimukset: • Langaton reititin 2,4 GHz WiFi b/g/n •
Android- tai iOs-älypuhelin. Tarkista kaupassa
sovellusohjelman yhteensopivuus oman älypuhelimen
käyttöjärjestelmäversion kanssa.
Huomio: Valmistaja ELICA vakuuttaa, että tämä
kodinkonemalli, jossa langaton WiFi-radiomoduuli, on
yhdenmukainen direktiivin 2014/53/EU kanssa.
Radiolaite toimii ISM-taajuusalueella 2,4 GHz, suurin
mahdollinen lähetysteho radiotaajuuksilla ei ylitä 20 dBm
(EIRP-tiheys).
Varoitukset:
• Tietosuoja: Yhdistetyn laitteen havaitsemat tiedot
kerätään, jotta kaikkia yhdistetyn kodinkoneen palveluja
voitaisiin käyttää. Lisätietoja kerättyjen tietojen
käsittelytavoista ja tietosuojatiedotteesta on saatavana
sivustolla www.elica.com.
• Maakohtainen saatavuus: Elica Connect on saatavana
määrätyissä maissa. Lisätietoja varten käy sivuston
www.elica.com asianmukaisessa kohdassa tai tarkista
oman älypuhelimen saatavuus etsimällä Elica Connect-
sovellus.
• Tulevat muutokset: Elica pidättää oikeiden tehdä kaikki
muutokset, joita pidetään tarpeellisina Elica Connect -
palvelun parantamiseksi. Näin ollen tässä oppaassa olevat
kuvaukset eivät ole velvoittavia ja niillä on yksinomaan
ohjeellinen arvo.
TOIMINTA
OHJAUSPANEELI
HYVÄ TIETÄÄ ENNEN KÄYTÖN
ALOITTAMISTA
Tämä tuote edellyttää ennakkotoimenpiteitä ennen käyttöä:
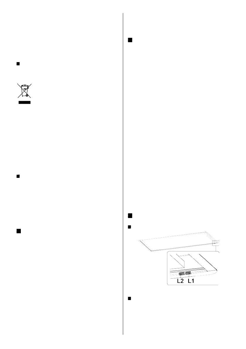
● TARVITTAVA TOIMENPIDE:
Kaukosäätimen parinmuodostus.
55
Bekijk gratis de handleiding van Elica ILLUSION PRF0146251A, stel vragen en lees de antwoorden op veelvoorkomende problemen, of gebruik onze assistent om sneller informatie in de handleiding te vinden of uitleg te krijgen over specifieke functies.
Productinformatie
| Merk | Elica |
| Model | ILLUSION PRF0146251A |
| Categorie | Afzuigkap |
| Taal | Nederlands |
| Grootte | 13154 MB |







