Elica HAIKU ISLAND PRF0146291 handleiding

124 pagina's
PDF beschikbaar

Handleiding

Je bekijkt pagina 48 van 124
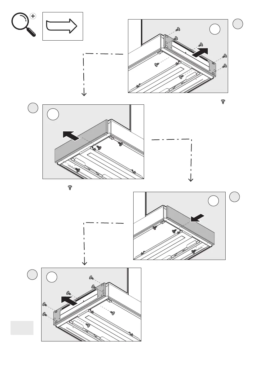
3
2
1
L
R
7 x
L
3 x
R
4
34a

Bekijk gratis de handleiding van Elica HAIKU ISLAND PRF0146291, stel vragen en lees de antwoorden op veelvoorkomende problemen, of gebruik onze assistent om sneller informatie in de handleiding te vinden of uitleg te krijgen over specifieke functies.

Productinformatie

MerkElica
ModelHAIKU ISLAND PRF0146291
CategorieAfzuigkap
TaalNederlands
Grootte12071 MB