Electrolux EW5F4248N1 handleiding
Handleiding
Je bekijkt pagina 21 van 180

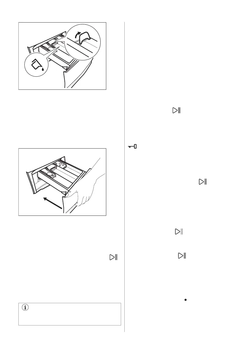
Når klappen er i positionen NED:
• Brug hverken geleagtige eller
tyktflydende vaskemidler.
• Overskrid ikke dosen for flydende
vaskemiddel, som angivet på klappen.
• Indstil ikke forvaskfasen.
• Indstil ikke funktionen udskudt start.
5. Afmål vaskemidlet og skyllemidlet.
6. Luk omhyggeligt
vaskemiddeldispenseren.
Sørg for, at klappen ikke blokerer, når du
lukker skuffen.
10.5 Indstilling af program
1. Drej programvælgeren for at vælge det
ønskede vaskeprogram.
Kontrolknappen for knappen Start/Pause
blinker.
Displayet viser en indikativ programvarighed.
2. Tryk på de pågældende knapper for at
ændre temperaturen og/eller
centrifugeringshastigheden.
3. Indstil om ønsket et eller flere tilvalg ved
at trykke på de pågældende knapper.
Hvis et valg ikke er muligt, udsendes
der et lydsignal.
10.6 Yderligere oplysninger om
daglig brug
SensiCare System Fyldningsregistrering
Begynder SensiCare System at fyldningens
vægt for at beregne den reelle
programvarighed. Efter ca. 15-20 minutter
vises den nye programvarighed. ProSense-
teknologien justerer automatisk
programvarigheden til vasketøjet i tromlen for
at opnå perfekte vaskeresultater på kortest
mulig tid. SensiCare System er ikke
tilgængelig for programmer med korte
vaskecyklusser.
Start et program
Tryk på Start/Pause -knappen for at starte
programmet. Den tilhørende kontrollampe
holder op med at blinke og forbliver tændt.
Programmet starter, og lugen låses. Displayet
viser kontrollampen Programmet starter,
lugen er låst. Displayet viser kontrollampe
.
Start af et program med udskudt start
1. Tryk gentagne gange på Delay Start-
knappen, indtil displayet viser den ønskede
udskudte tid.
2. Tryk på knappen Start/Pause
.
Apparatets luge låses og starter nedtællingen
til Senere start. Programmet starter
automatisk, når nedtællingen er afsluttet.
Afbrydelse af et program og ændring af
tilvalgsfunktioner.
1. Når et program er i gang, kan du kun
ændre visse tilvalgsfunktioner. Tryk på
knappen Start/Pause .
2. Skift indstillinger. Oplysningerne på
displayet ændres i henhold hertil.
3. Tryk på Start/Pause igen.
Vaskeprogrammet fortsætter.
Annullering af et igangværende program
• Tryk på On/Off-knappen for at annullere
programmet og for at slukke for maskinen.
Tryk igen for at tænde apparatet.
• Drej valgknappen til positionen "nulstil" for
at aktivere maskinen . Vent 2 sekunder.
Nu kan du indstille et nyt vaskeprogram.
DANSK 21
Bekijk gratis de handleiding van Electrolux EW5F4248N1, stel vragen en lees de antwoorden op veelvoorkomende problemen, of gebruik onze assistent om sneller informatie in de handleiding te vinden of uitleg te krijgen over specifieke functies.
Productinformatie
| Merk | Electrolux |
| Model | EW5F4248N1 |
| Categorie | Wasmachine |
| Taal | Nederlands |
| Grootte | 17064 MB |







