Electro-Voice AGCD handleiding

32 pagina's
PDF beschikbaar

Handleiding

Je bekijkt pagina 15 van 32
ELECTRO-VOICE
®
XLC
TM
Rigging Manual
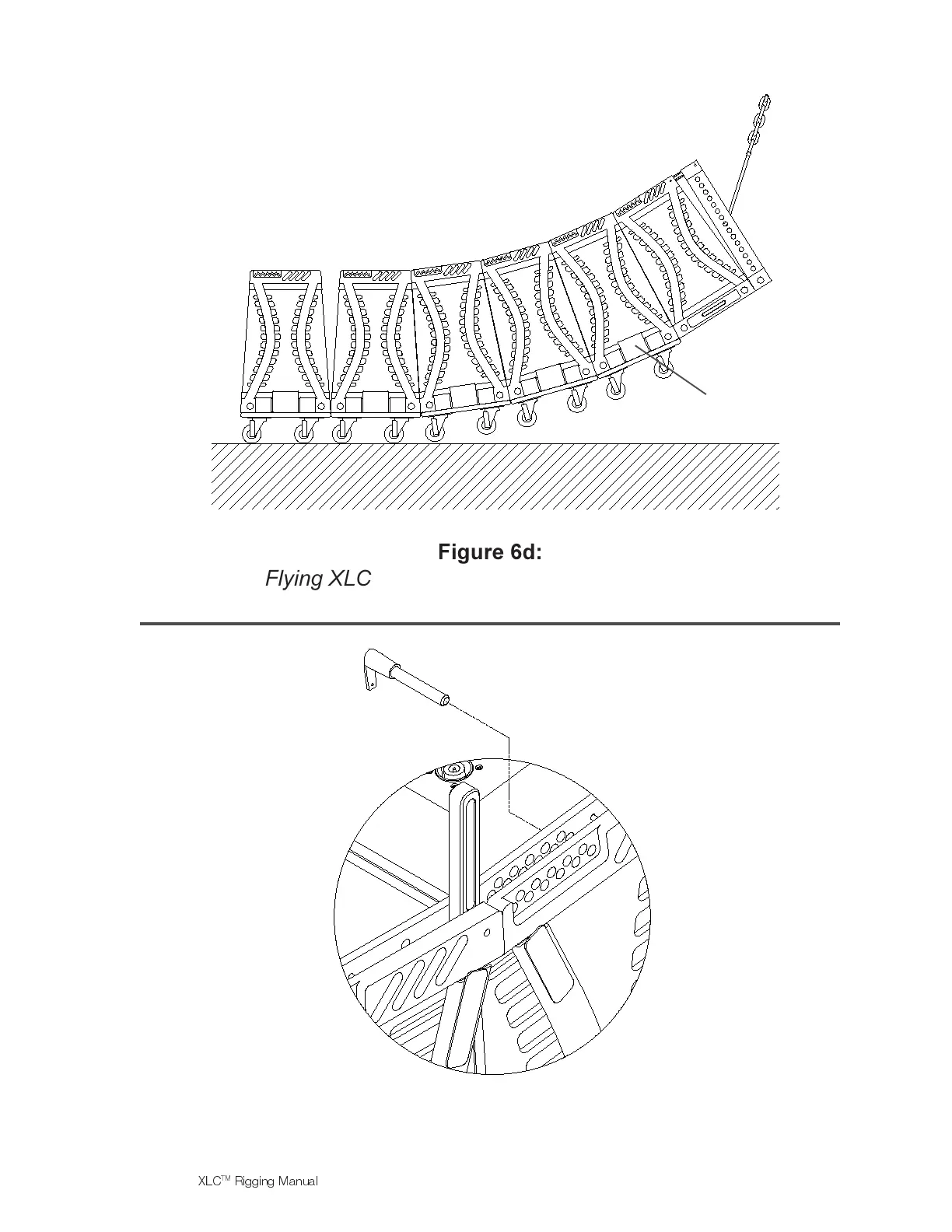
Figure 6d:
Flying XLC Systems with Front Dollies - Step 4
Figure 6e:
Flying XLC Systems with Front Dollies - Step 5
Dolly Clip
14

Bekijk gratis de handleiding van Electro-Voice AGCD, stel vragen en lees de antwoorden op veelvoorkomende problemen, of gebruik onze assistent om sneller informatie in de handleiding te vinden of uitleg te krijgen over specifieke functies.

Productinformatie

MerkElectro-Voice
ModelAGCD
CategorieNiet gecategoriseerd
TaalNederlands
Grootte2800 MB