Elation RMD-1220 handleiding
Handleiding
Je bekijkt pagina 7 van 12

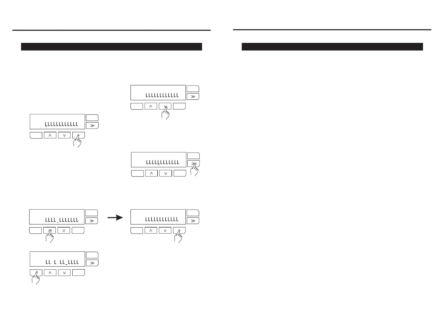
2. Tap ENTER button to enter CURVES
menu. The cursor is blinking on bar 1.
4. Tap UP/DOWN button to select , and tap ENTER button
to save your setup. The LCD page will back to step 1.
Linear, Square or NO-DIM
3. You can tap >> button to move cursor from
bar 1 to bar 12.
Operation Guide
1. Tap UP/DOWN button to scroll to CURVES
menu.
This menu is used to select a dimmer curve for any or all the dimmer in system. There
are 3 dimmer curves available to choice from L-Linear, S-Square and N-NO-DIM.
5. Repeat the step 2~4,you can complete
your setup for Dimmer Curve.
-16-
ENTER
MENU
ESC
ENTER
MENU
ESCENTER
MENU
ESC
ENTER
MENU
ESC
ENTER
MENU
ESC
CURVES
6) CURVES
CH:
CURVES(Linear)
CH:
CURVES(Square)
CH:
CURVES
CH:
ENTER
MENU
ESC
CURVES(Linear)
CH:
S
CURVES(NO-DIM)
CH:
S
N
N
Tap ESC button to jump to previous page and
the current page will not be recorded.
Overview
1. 2x16 LCD Display
Shows the current activities or adjustments of menus.
Front View
2. DMX LED Indicator
This LED blinks when DMX signal is present.
7. UP( )/DOWN( ) Button
Tap UP/DOWN button to scroll through or adjust desired levels, menu
options during operation.
8. ESC Button
Tap this button to go back the previous menu level or escape without record.
10. ArtNET Port
-5-
11. Channel Dimmer Module(x12)
The channel dimmer module is incorporated with a 20A UL approval MCB
(Circuit Breaker) and SCRs (Silicon Controlled Rectifier) .
With RJ 45 standard network port, use to connect your PC.
4. ArtNET LED Indicator
This LED will blink when an available Ethernet network is connected.
5. MENU Button
This button is used to access set-up menus.
3. POWER LED Indicator
This LED will light when power source is connected.
6. >> Button
This button is used to scroll the sub-menus or move the cursor to right.
9. ENTER Button
All functions must press ENTER button to activate.
>
>
Bekijk gratis de handleiding van Elation RMD-1220, stel vragen en lees de antwoorden op veelvoorkomende problemen, of gebruik onze assistent om sneller informatie in de handleiding te vinden of uitleg te krijgen over specifieke functies.
Productinformatie
| Merk | Elation |
| Model | RMD-1220 |
| Categorie | Verlichting |
| Taal | Nederlands |
| Grootte | 1679 MB |






