Elation Opto Branch 8 handleiding
Handleiding
Je bekijkt pagina 7 van 8

www.elationlighting.com!
7"""""""""!!!!!!!!!!OPTO"BRANCH"8™"User"Manual"1.0
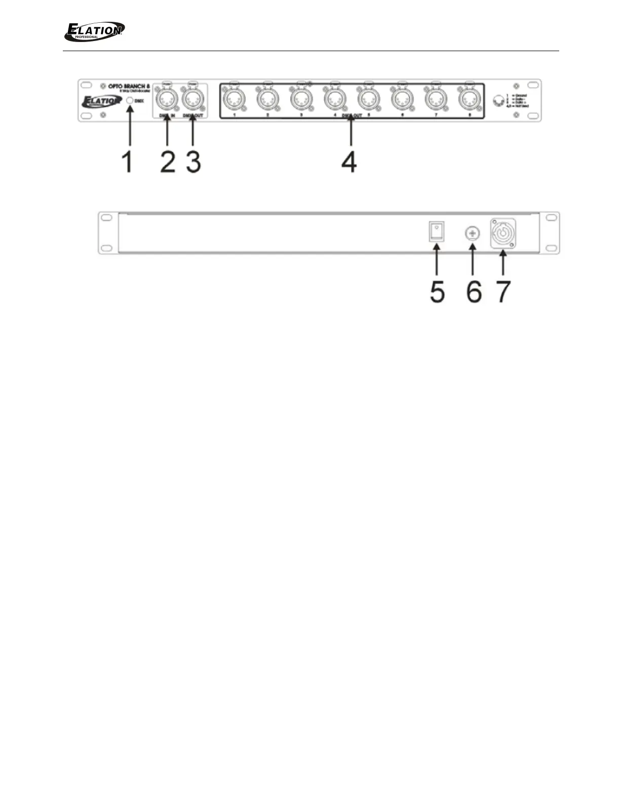
PRODUCT OVERVIEW
1: LED INDICATOR - DMX signal and power On/Off indicator
2: DMX IN - 5pin XLR DMX input signal
3: DMX OUT - 5pin XLR DMX output signal to next OPTO BRANCH
4: 8-Way DMX OUT - (8) 5pin XLR DMX isolated outputs
5: POWER ON/OFF - Power switch
6: FUSE HOLDER - Houses T1A/250V GMA safety fuse
7: POWER IN - Power connection (powerCON) to power source
Please Note: Specifications and improvements in the design of this unit and this manual are subject to change without any prior written notice.
Bekijk gratis de handleiding van Elation Opto Branch 8, stel vragen en lees de antwoorden op veelvoorkomende problemen, of gebruik onze assistent om sneller informatie in de handleiding te vinden of uitleg te krijgen over specifieke functies.
Productinformatie
| Merk | Elation |
| Model | Opto Branch 8 |
| Categorie | Verlichting |
| Taal | Nederlands |
| Grootte | 1006 MB |






