Elation Design Spot LED handleiding
Handleiding
Je bekijkt pagina 12 van 52

Design Spot LED™
©Elation Professional® 12 Design Spot LED™
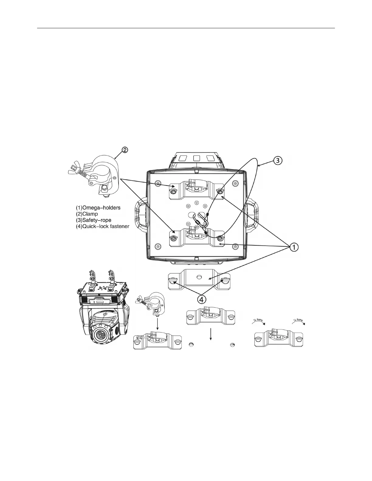
Clamp Mounting
The Design Spot LED™ provides a unique mounting bracket assembly that integrates the
bottom of the base, the included “Omega Bracket,” and the safety cable rigging point in one
unit (see the illustration below). When mounting this fixture to truss be sure to secure an
appropriately rated clamp to the included omega bracket using a M10 screw fitted through
the center hole of the “omega bracket”. As an added safety measure be sure to attached at
least one properly rated safety cable to the fixture using on of the safety cable rigging point
integrated in the base assembly
Securing the DESIGN SPOT LED™
Regardless of the rigging option you choose for your DESIGN SPOT LED,™ always be sure
to secure your fixture with a safety cable. The fixture provides a built-in rigging point for a
safety cable on the hanging bracket as illustrated above. Be sure to only use the designated
rigging point for the safety cable and never secure a safety cable to a carrying handle.
Bekijk gratis de handleiding van Elation Design Spot LED, stel vragen en lees de antwoorden op veelvoorkomende problemen, of gebruik onze assistent om sneller informatie in de handleiding te vinden of uitleg te krijgen over specifieke functies.
Productinformatie
| Merk | Elation |
| Model | Design Spot LED |
| Categorie | Verlichting |
| Taal | Nederlands |
| Grootte | 5181 MB |






