Elation Design Spot 575E handleiding
Handleiding
Je bekijkt pagina 15 van 54

Design Spot 575E™
©Elation Professional® 15
Design Spot 575E™
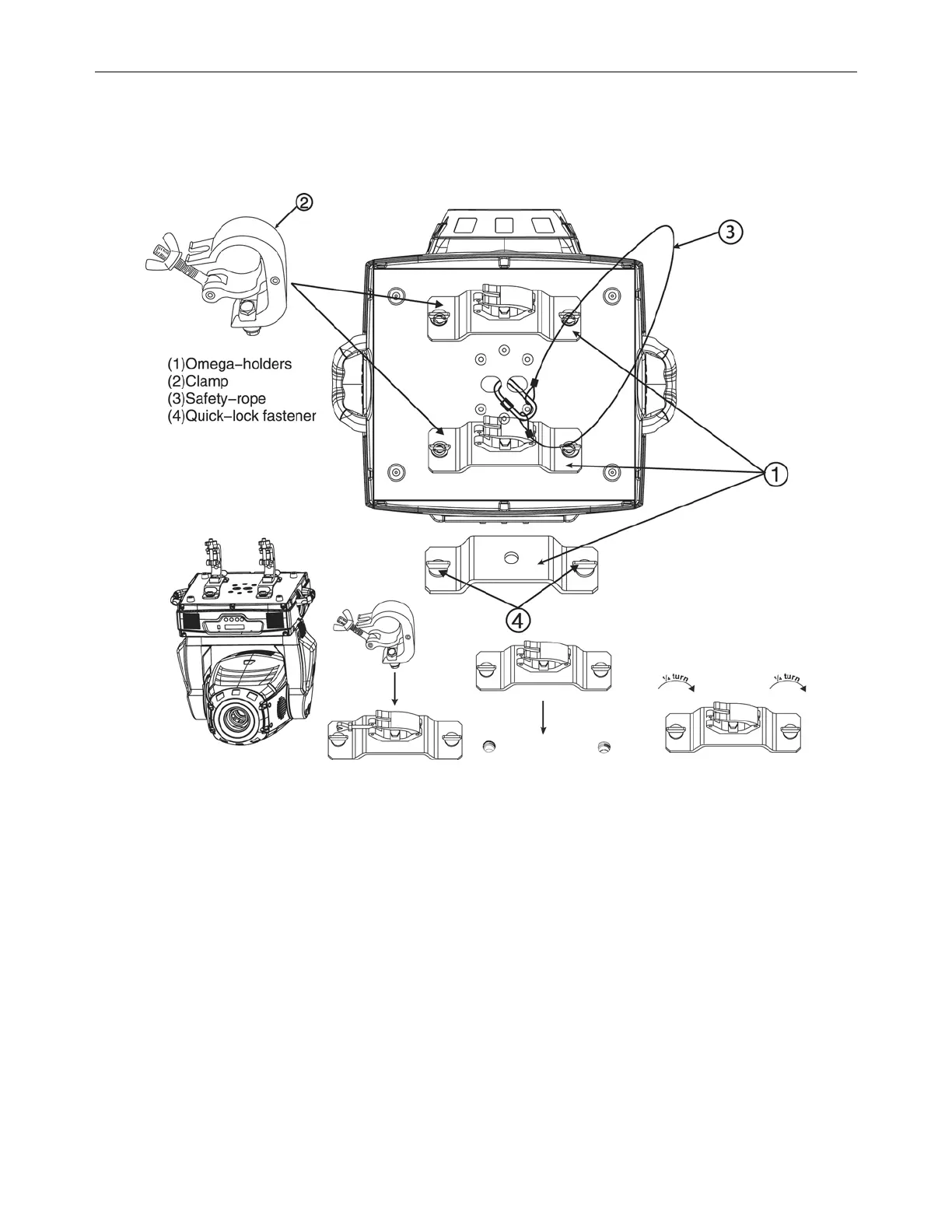
added safety measure be sure to attached at least one properly rated safety cable to the
fixture using on of the safety cable rigging point integrated in the bracket assembly
Securing the DESIGN SPOT 575E™
Regardless of the rigging option you choose for your Design Spot 575E™ always be sure to
secure your fixture with a safety cable. The fixture provides a built-in rigging point for a
safety cable on the hanging bracket as illustrated above. Be sure to only use the designated
rigging point for the safety cable and never secure a safety cable to a carrying handle.
Bekijk gratis de handleiding van Elation Design Spot 575E, stel vragen en lees de antwoorden op veelvoorkomende problemen, of gebruik onze assistent om sneller informatie in de handleiding te vinden of uitleg te krijgen over specifieke functies.
Productinformatie
| Merk | Elation |
| Model | Design Spot 575E |
| Categorie | Verlichting |
| Taal | Nederlands |
| Grootte | 5579 MB |






