Elation Design Spot 250 Pro handleiding
Handleiding
Je bekijkt pagina 16 van 56

Design Spot 250 Pro™
©Elation Professional® 16 Design Spot 250 Pro™
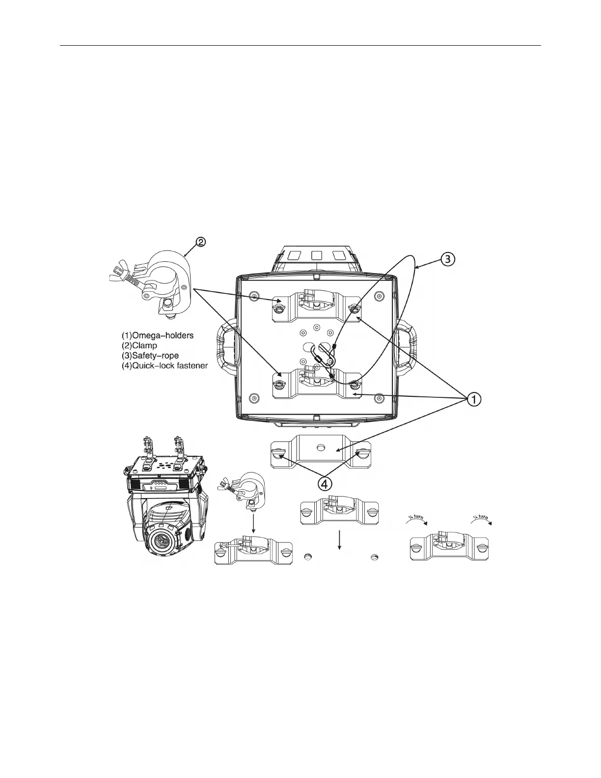
Clamp Mounting
The Design Spot 250 Pro™ provides a unique mounting bracket assembly that integrates
the bottom of the base, the included “Omega Bracket,” and the safety cable rigging point in
one unit (see the illustration below). When mounting this fixture to truss be sure to secure an
appropriately rated clamp to the included omega bracket using a M10 screw fitted through
the center hole of the “omega bracket”. As an added safety measure be sure to attached at
least one properly rated safety cable to the fixture using on of the safety cable rigging point
integrated in the base assembly
Securing the DESIGN SPOT 250 Pro™
Regardless of the rigging option you choose for your DESIGN SPOT 250 PRO,™ always be
sure to secure your fixture with a safety cable. The fixture provides a built-in rigging point for
a safety cable on the hanging bracket as illustrated above. Be sure to only use the
designated rigging point for the safety cable and never secure a safety cable to a carrying
handle.
Bekijk gratis de handleiding van Elation Design Spot 250 Pro, stel vragen en lees de antwoorden op veelvoorkomende problemen, of gebruik onze assistent om sneller informatie in de handleiding te vinden of uitleg te krijgen over specifieke functies.
Productinformatie
| Merk | Elation |
| Model | Design Spot 250 Pro |
| Categorie | Verlichting |
| Taal | Nederlands |
| Grootte | 5733 MB |






