Elan Destiny 83619 handleiding
Handleiding
Je bekijkt pagina 5 van 18

5
Short Machine
Screw
x 2
Hardware Used
Hardware Used
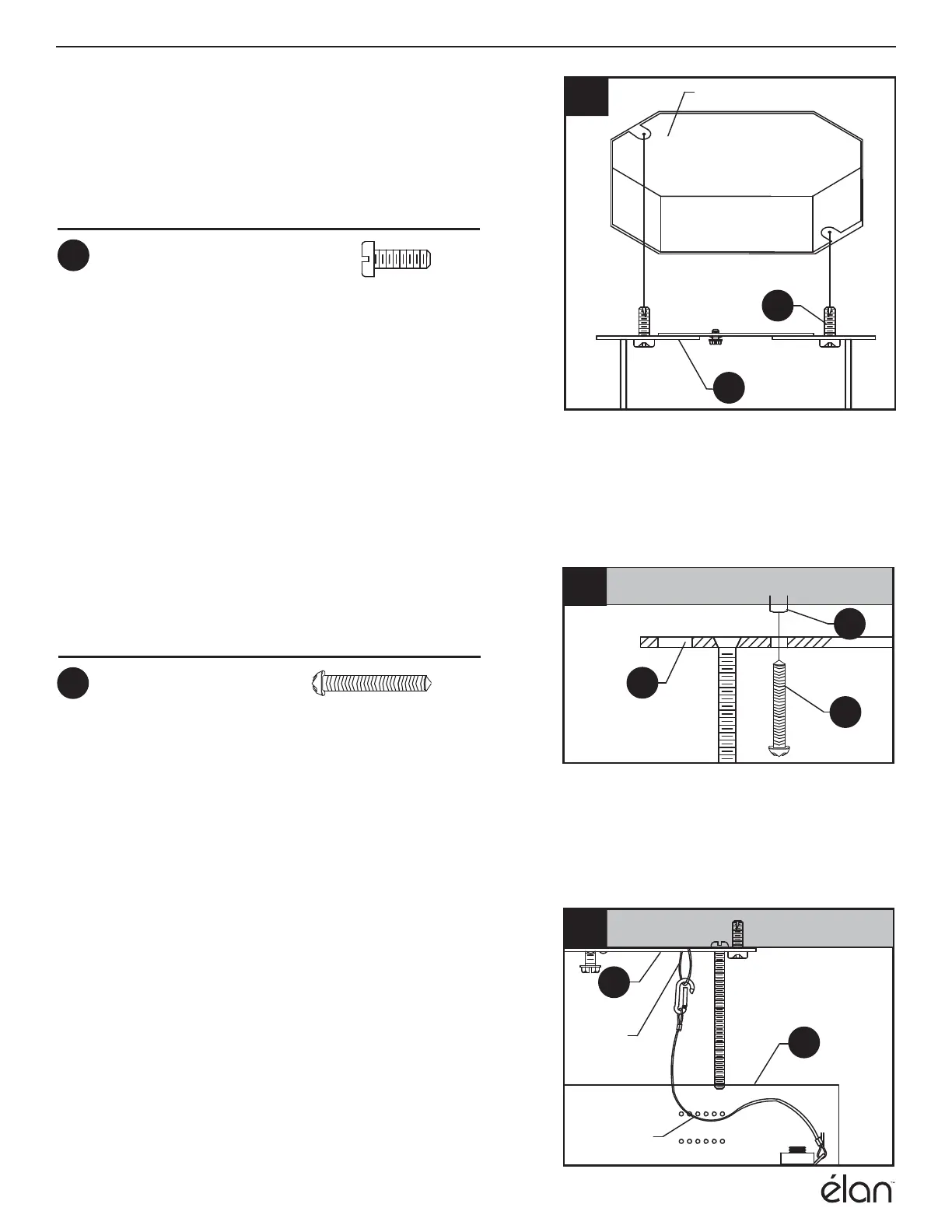
5. Screw anchor screws (EE) through mounting
bracket (B) and into anchors (DD).
x 4
EE
Anchor
Screws
4. Orient the mounting bracket (B) so that the
preassembled screws are facing away from the
outlet box (not included). Connect the mounting
bracket (B) to the outlet box with short machine
screws (BB).
ASSEMBLY INSTRUCTIONS
BB
4
B
BB
Outlet Box
5
EE
DD
B
6. Connect safety cable located in upper canopy
(A) to the safety cable loop located on mounting
bracket (B).
A
B
Safety
Cable
Safety
Cable
Loop
6
Bekijk gratis de handleiding van Elan Destiny 83619, stel vragen en lees de antwoorden op veelvoorkomende problemen, of gebruik onze assistent om sneller informatie in de handleiding te vinden of uitleg te krijgen over specifieke functies.
Productinformatie
| Merk | Elan |
| Model | Destiny 83619 |
| Categorie | Verlichting |
| Taal | Nederlands |
| Grootte | 1598 MB |







