Ekko ER15L handleiding
Handleiding
Je bekijkt pagina 8 van 31

3
3.Introduce of the product
3.1Product overview .
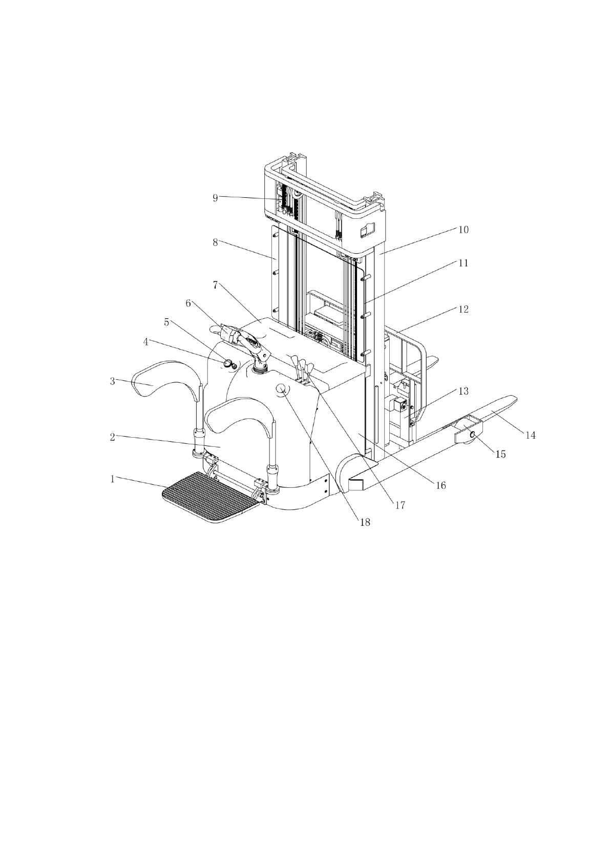
Figure 1 Subject classification
1.Pedal assembly 2.Cover 3.Protection arm assembly
4.Electricity meter 5.Key switch 6.Handle assembly
7.Battery cover 8.Protective barrier 9.Chain
10.Mast frame assembly 11.Lift cylinder 12.Protective barrier
13.Carriage assembly 14.Forged fork 15.Front wheel
16.Main frame welding 17.Operating rod 18.Emergency stop switch
Bekijk gratis de handleiding van Ekko ER15L, stel vragen en lees de antwoorden op veelvoorkomende problemen, of gebruik onze assistent om sneller informatie in de handleiding te vinden of uitleg te krijgen over specifieke functies.
Productinformatie
| Merk | Ekko |
| Model | ER15L |
| Categorie | Niet gecategoriseerd |
| Taal | Nederlands |
| Grootte | 4589 MB |







