Handleiding
Je bekijkt pagina 40 van 80

40
11.12.2. Stand-By
When the Stand-by function is active, when the temperature set-point is reached, the product switches off and
switches on again when the room temperature drops below the desired temperature.
When the Stand-by function is not active, the product sets itself to minimum power when the temperature set-point
is reached.
The product is programmed by default with a delta of 1 °C to ensure best comfort.
The technician may vary this setting during the first ignition to meet specific requirements.
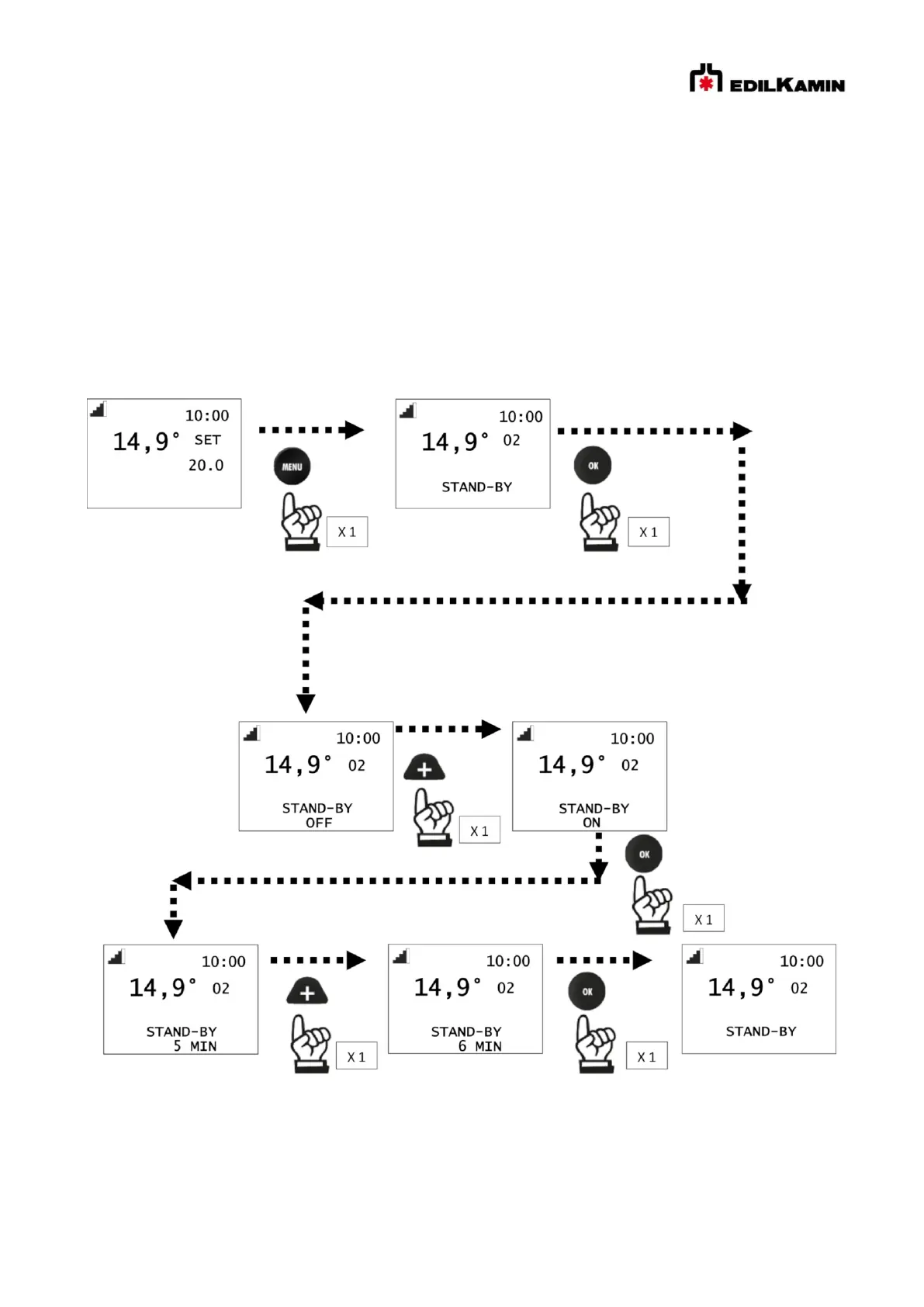
11.12.3. Access to the Menu and setting
As shown in the diagram, ON or OFF of the STAND-BY function is set and the minutes that must elapse before the
product switches off (example 5 by default)
Bekijk gratis de handleiding van Edilkamin SENSE 8, stel vragen en lees de antwoorden op veelvoorkomende problemen, of gebruik onze assistent om sneller informatie in de handleiding te vinden of uitleg te krijgen over specifieke functies.
Productinformatie
Merk | Edilkamin |
Model | SENSE 8 |
Categorie | Fornuis |
Taal | Nederlands |
Grootte | 11446 MB |