Draper Expert 13590 handleiding
Handleiding
Je bekijkt pagina 6 van 16

– 6 –
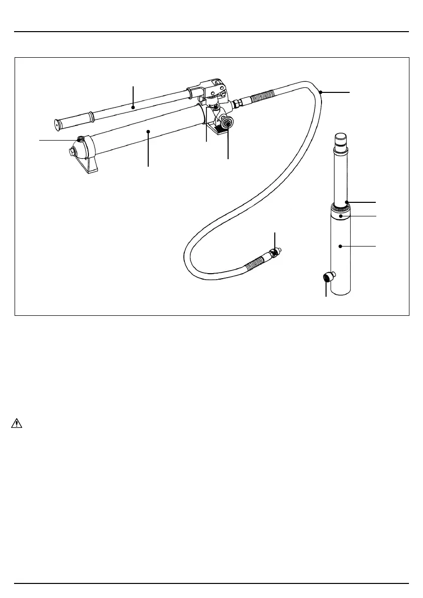
(1) Handle
(2) Oil Filler Screw
(3) Pump
(4) Safety Valve
(5) Release Valve
(6) Hose
(7) Warning Line
(8) Hose Coupler
(9) Ram
(10) Ram Coupler
(11) Protection Cap
• WARNING!
• Ensure that the rated working pressure of each pressurised attachment is equal to or greater than the rated working
pressure produced by the hydraulic pump.
• Always check connections before using. Alteration of these products is strictly prohibited. Use ONLY those adapters
and attachments provided and approved by the manufacturer.
• When extension bars and/or oset attachments are used, the rated capacity is always reduced by 50% for each bar
or oset attachment connected.
• DO NOT overextend the ram or exceed the warning line (7) on the ram’s piston.
• DO NOT exceed the rated capacity.
• DO NOT adjust the safety valve (4).
5.1 Product Overview
5. Identication and Unpacking
(2)
(3)
(10)
(5)
(8)
(1)
(9)
(11)
(7)
(6)
(4)
Bekijk gratis de handleiding van Draper Expert 13590, stel vragen en lees de antwoorden op veelvoorkomende problemen, of gebruik onze assistent om sneller informatie in de handleiding te vinden of uitleg te krijgen over specifieke functies.
Productinformatie
| Merk | Draper |
| Model | Expert 13590 |
| Categorie | Niet gecategoriseerd |
| Taal | Nederlands |
| Grootte | 1688 MB |







