Handleiding
Je bekijkt pagina 15 van 56

A-12
OPÉRATION DE L'ÉTUVE
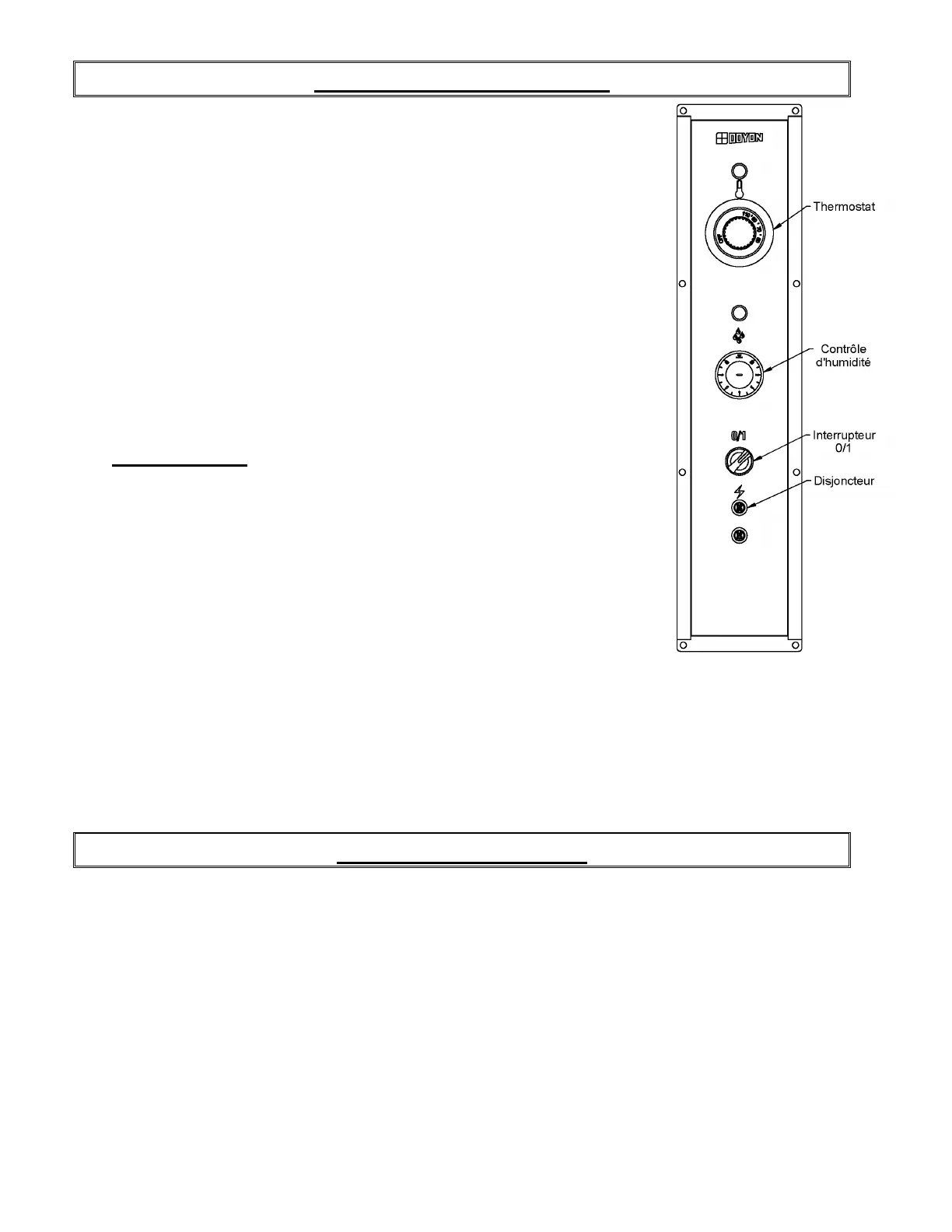
1. Placer l'interrupteur à "ON" (1).
2. Placer le bouton du thermostat à 100
°
F.
3. Placer le bouton d'humidité à approximativement :
3 pour JAOP-3 & JAOP-6
4 ou 5 pour JAOP-10
5 pour JAOP-14
4. S'il y a trop de vapeur, l'eau condensera sur la vitre et des
gouttelettes glisseront. Il faut alors diminuer le réglage d'humidité.
5. Quand la température est stabilisée, charger l'étuve
(Laisser le produit à l'intérieur jusqu'à ce qu'il soit prêt à cuire).
6. IMPORTANT: Quand l'utilisation est terminée, mettre le
contrôle d’humidité à "OFF" et laisser fonctionner la chaleur et le
ventilateur pour 10-15 minutes. Après cette période, mettre
l’interrupteur principal de l’étuve à "OFF" (0) et laisser les portes
entrouvertes. Ceci permettra de minimiser la formation de
moisissure.
Lorsque l’étuve ne fonctionne pas, ouvrir les portes pour laisser sortir l’humidité afin de prévenir
la formation de moisissure.
N.B. Bien fermer les portes et ne pas les ouvrir inutilement pour conserver la chaleur et la vapeur
dans l'étuve.
Bien nettoyer à tous les jours le récupérateur d'eau situé en dessous de la porte.
PANNE DE COURANT
L’étuve est sécuritaire même lors d’une panne de courant. Lorsque l’alimentation revient, l’étuve se
remet en marche automatiquement selon le réglage. Il est donc nécessaire de mettre le sélecteur à
‘’ARRÊT’’ afin d’éviter que l’appareil redémarre sans surveillance.
Bekijk gratis de handleiding van Doyon JA6SL, stel vragen en lees de antwoorden op veelvoorkomende problemen, of gebruik onze assistent om sneller informatie in de handleiding te vinden of uitleg te krijgen over specifieke functies.
Productinformatie
Merk | Doyon |
Model | JA6SL |
Categorie | Oven |
Taal | Nederlands |
Grootte | 6948 MB |