Handleiding
Je bekijkt pagina 25 van 49

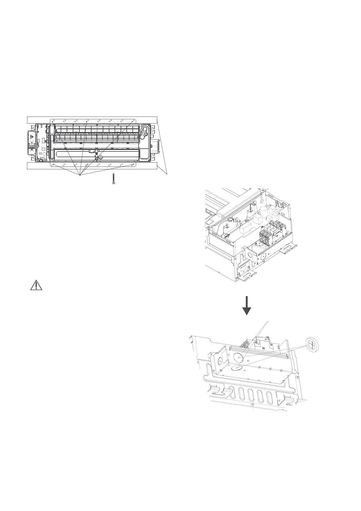
•Align the refrigerant pipes, drain pipeswith their
connection points before mounting the unit.
Mount the indoor unit with at least two people to
lift and secure it then fix the unit body to the roof
beam by using 6× ST8.0*50 screws.
Make sure that the screws do not come loose.
Make sure you verify the size and positions of the
opening in the ceiling before you do so.
•Remove the specific pre-cutting cover on the
circuit breaker box.
The unit body must be completely aligned with
the hole. Ensure that the unit and the hole arethe
same size before moving on. Ensure that the
indoor unit is horizontal after installation.
NOTICE
Eight ST8.0*50 screws are supplied, two of
which are spare.
NOTICE
If you choose this configuration, it is recom-
mended that installing this wire controller
during the step of indoor unit installation.
Page 25
Pre-cutting cover both
holes can cross the wire,
just select one to install
the rubber ring.
Roof
beam
Secure with screws
Step 3: Optional parts Installation
Wire controller
For the function introduction, operation
instruction and installation, please refer to
the installation and owner’s manual of wire
controller. However, for this machine, please
following the steps for wire connection.
WARNING
Bekijk gratis de handleiding van Daizuki DX1C12426-22, stel vragen en lees de antwoorden op veelvoorkomende problemen, of gebruik onze assistent om sneller informatie in de handleiding te vinden of uitleg te krijgen over specifieke functies.
Productinformatie
| Merk | Daizuki |
| Model | DX1C12426-22 |
| Categorie | Airco |
| Taal | Nederlands |
| Grootte | 6253 MB |







