Daikin RXYSA8AMY1B handleiding
Handleiding
Je bekijkt pagina 12 van 56

6 Operation
Installation and operation manual
12
RXYSA8~12AMY1B
VRV 5-S system air conditioner
4P752781-1C – 2024.10
6.2 Operating the system
6.2.1 About operating the system
▪ Operation procedure varies according to the combination of
outdoor unit and user interface.
▪ To protect the unit, turn on the main power switch 6 hours before
operation.
▪ If the main power supply is turned off during operation, operation
will restart automatically after the power turns back on again.
6.2.2 About cooling, heating, fan only, and
automatic operation
▪ Changeover cannot be made with a user interface whose display
shows "changeover under centralised control" (refer to
installation and operation manual of the user interface).
▪ When the display "changeover under centralised control"
flashes, refer to "6.5.1 About setting the master user
interface"[413].
▪ The fan may keep on running for about 1 minute after the heating
operation stops.
▪ The air flow rate may adjust itself depending on the room
temperature or the fan may stop immediately. This is not a
malfunction.
6.2.3 About the heating operation
It may take longer to reach the set temperature for general heating
operation than for cooling operation.
The following operation is performed in order to prevent the heating
capacity from dropping or cold air from blowing.
Defrost operation
In heating operation, freezing of the outdoor unit's air cooled coil
increases over time, restricting the energy transfer to the outdoor
unit's coil. Heating capability decreases and the system needs to go
into defrost operation to be able to remove frost from the outdoor
unit’s coil. During defrost operation the heating capacity on the
indoor unit side will temporarily drop until defrosting is completed.
After defrosting, the unit will regain its full heating capacity.
The indoor unit will stop fan operation, the refrigerant cycle will
reverse and energy from inside the building will be used to defrost
the outdoor unit coil.
The indoor unit will indicate defrost operation on the display .
Hot start
In order to prevent cold air from blowing out of an indoor unit at the
start of heating operation, the indoor fan is automatically stopped.
The display of the user interface shows . It may take some time
before the fan starts. This is not a malfunction.
6.2.4 To operate the system (WITHOUT cool/
heat changeover remote control switch)
1 Press the operation mode selector button on the user interface
several times and select the operation mode of your choice.
Cooling operation
Heating operation
Fan only operation
2 Press the ON/OFF button on the user interface.
Result: The operation lamp lights up and the system starts
operating.
6.2.5 To operate the system (WITH cool/heat
changeover remote control switch)
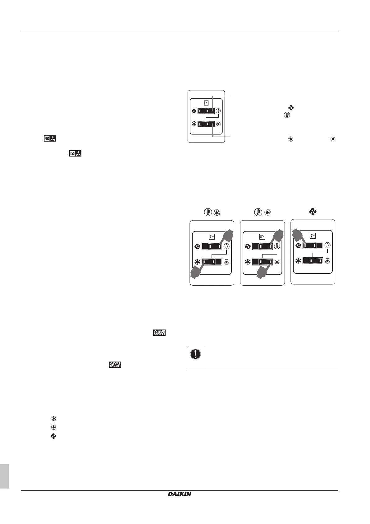
Overview of the changeover remote control switch
a
b
a FAN ONLY/AIR CONDITIONING
SELECTOR SWITCH
Set the switch to for fan only
operation or to for heating or
cooling operation.
b COOL/HEAT CHANGEOVER SWITCH
Set the switch to for cooling or to
for heating
Note: In case a cool/heat changeover remote control switch is used,
the position of DIP switch 1 (DS1-1) on the main PCB needs to be
switched to the ON position.
To start
1 Select operation mode with the cool/heat changeover switch as
follows:
Cooling operation Heating operation Fan only operation
1
1
1
1
1
1
11
2 Press the ON/OFF button on the user interface.
Result: The operation lamp lights up and the system starts
operating.
To stop
3 Press the ON/OFF button on the user interface once again.
Result: The operation lamp goes out and the system stops
operating.
NOTICE
Do not turn off power immediately after the unit stops, but
wait for at least 5 minutes.
To adjust
For programming temperature, fan speed and air flow direction refer
to the operation manual of the user interface.
6.3 Using the dry program
6.3.1 About the dry program
▪ The function of this program is to decrease the humidity in your
room with minimal temperature decrease (minimal room cooling).
▪ The micro computer automatically determines temperature and
fan speed (cannot be set by the user interface).
▪ The system does not go into operation if the room temperature is
low (<20°C).
Bekijk gratis de handleiding van Daikin RXYSA8AMY1B, stel vragen en lees de antwoorden op veelvoorkomende problemen, of gebruik onze assistent om sneller informatie in de handleiding te vinden of uitleg te krijgen over specifieke functies.
Productinformatie
Merk | Daikin |
Model | RXYSA8AMY1B |
Categorie | Niet gecategoriseerd |
Taal | Nederlands |
Grootte | 9612 MB |